首页
专利数据库
产业人才
行业动态
产业政策法规
维权援助
个人中心
登录/注册
详情
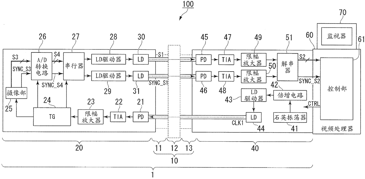
文本
图像
标题:
内窥镜系统
授权日:
1900-01-01
公开(公告)号:
CN102258359A
申请日:
2011-05-27
公开(公告)日:
2011-11-30
当前申请(专利权)人:
奥林巴斯株式会社
发明人:
加藤秀一
简单同族:
CN102258359A | CN102258359B | JP2011250835A | US20110292194A1 | US8885031
简单同族成员数量:
5
简单同族被引用专利总数:
34
诉讼案件数:
0
法律状态/事件:
授权