首页
专利数据库
产业人才
行业动态
产业政策法规
维权援助
个人中心
登录/注册
详情
文本
图像
标题:
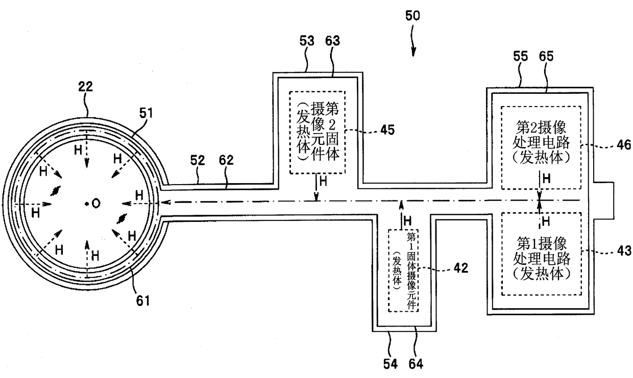
内窥镜装置
授权日:
1900-01-01
公开(公告)号:
CN102292014A
申请日:
2010-05-20
公开(公告)日:
2011-12-21
当前申请(专利权)人:
奥林巴斯株式会社
发明人:
小久保光贵
简单同族:
CN102292014A | CN102292014B | EP2371262A1 | EP2371262A4 | EP2371262B1 | JP4757358B2 | JPWO2011010499A1 | US20110092769A1 | US8597179 | WO2011010499A1
简单同族成员数量:
10
简单同族被引用专利总数:
57
诉讼案件数:
0
法律状态/事件:
未缴年费 | 权利转移