首页
专利数据库
产业人才
行业动态
产业政策法规
维权援助
个人中心
登录/注册
详情
文本
图像
标题:
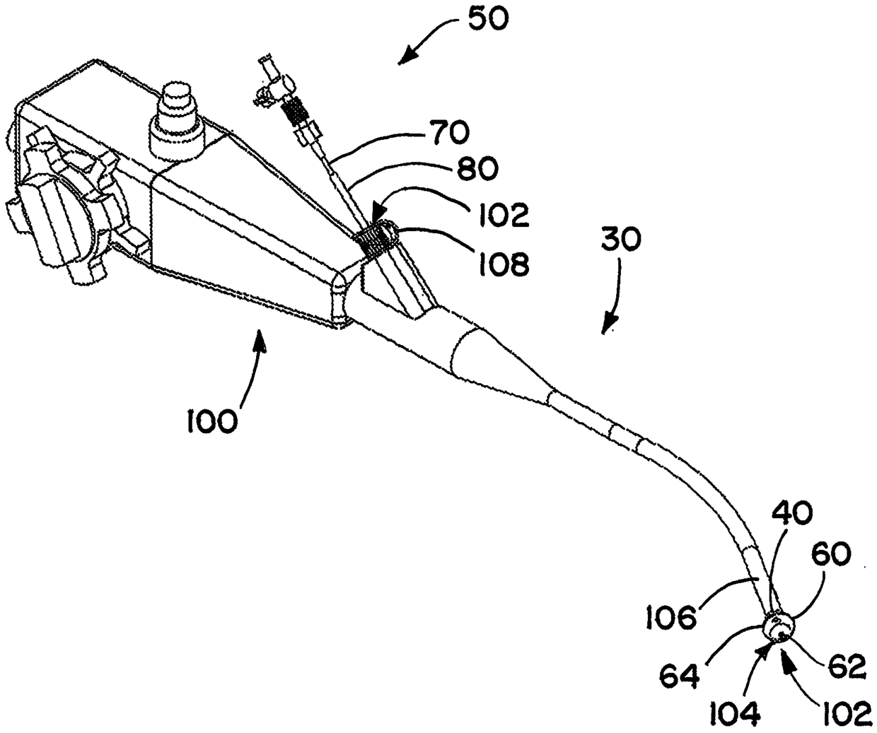
用于内窥镜的气囊状进入设备
授权日:
2016-09-28
公开(公告)号:
CN103781394B
申请日:
2012-04-05
公开(公告)日:
2016-09-28
当前申请(专利权)人:
可视化气囊有限责任公司
发明人:
鲍里斯·雷代尔 | D·西克里斯特 | K·S·威尔士
简单同族:
CN103781394A | CN103781394B | EP2693931A1 | US20120259175A1 | US20160174829A1 | US9220396 | WO2012138815A1
简单同族成员数量:
7
简单同族被引用专利总数:
51
诉讼案件数:
0
法律状态/事件:
授权 | 权利转移