首页
专利数据库
产业人才
行业动态
产业政策法规
维权援助
个人中心
登录/注册
详情
文本
图像
标题:
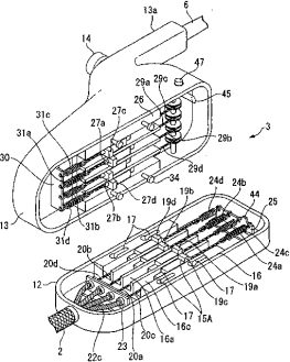
内窥镜装置
授权日:
1900-01-01
公开(公告)号:
CN101795616A
申请日:
2008-09-11
公开(公告)日:
2010-08-04
当前申请(专利权)人:
奥林巴斯株式会社
发明人:
此村优
简单同族:
CN101795616A | EP2189103A1 | EP2189103A4 | JP5160549B2 | JPWO2009035051A1 | JPWO2009035051A5 | US20100160730A1 | WO2009035051A1
简单同族成员数量:
8
简单同族被引用专利总数:
37
诉讼案件数:
0
法律状态/事件:
驳回