首页
专利数据库
产业人才
行业动态
产业政策法规
维权援助
个人中心
登录/注册
详情
文本
图像
标题:
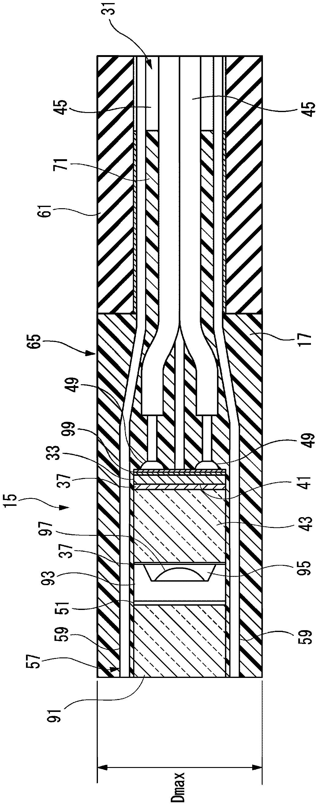
内窥镜
授权日:
2019-12-27
公开(公告)号:
CN106483653B
申请日:
2016-08-30
公开(公告)日:
2019-12-27
当前申请(专利权)人:
松下i-PRO传感解决方案株式会社
发明人:
原口直之 | 真田崇史 | 花田康行 | 畑濑雄一
简单同族:
CN106483653A | CN106483653B | CN110833381A | DE102016216380A1 | DE102016216380B4 | US10359619 | US20170059848A1 | US20180059399A1 | US20190285868A1 | US9829698
简单同族成员数量:
10
简单同族被引用专利总数:
211
诉讼案件数:
0
法律状态/事件:
授权 | 权利转移