首页
专利数据库
产业人才
行业动态
产业政策法规
维权援助
个人中心
登录/注册
详情
文本
图像
标题:
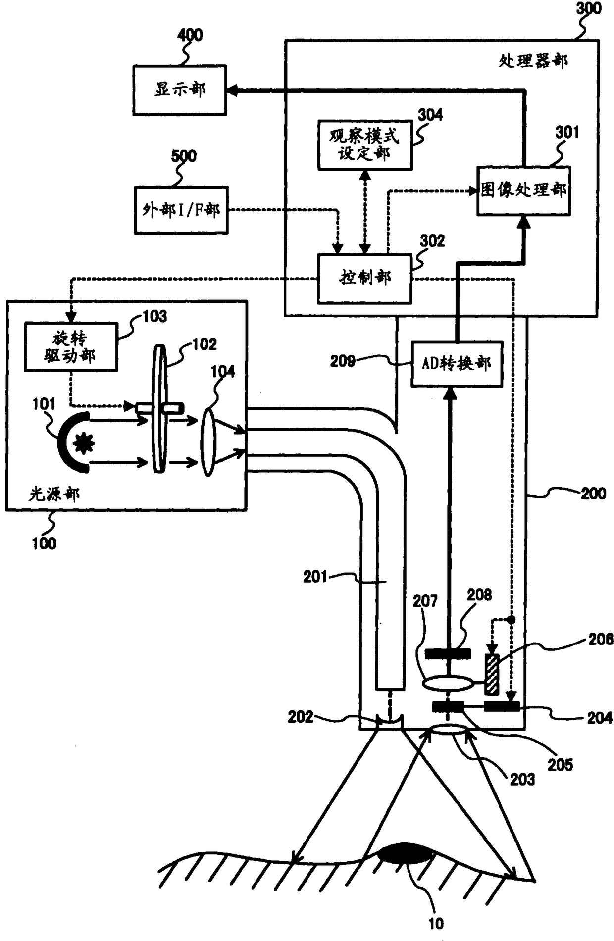
内窥镜系统、摄像装置以及控制方法
授权日:
1900-01-01
公开(公告)号:
CN102188219A
申请日:
2011-03-18
公开(公告)日:
2011-09-21
当前申请(专利权)人:
奥林巴斯株式会社
发明人:
佐佐木宽
简单同族:
CN102188219A | CN102188219B | JP2011193983A | JP2011193983A5 | JP5346856B2 | US20110228064A1 | US8723937
简单同族成员数量:
7
简单同族被引用专利总数:
44
诉讼案件数:
0
法律状态/事件:
授权