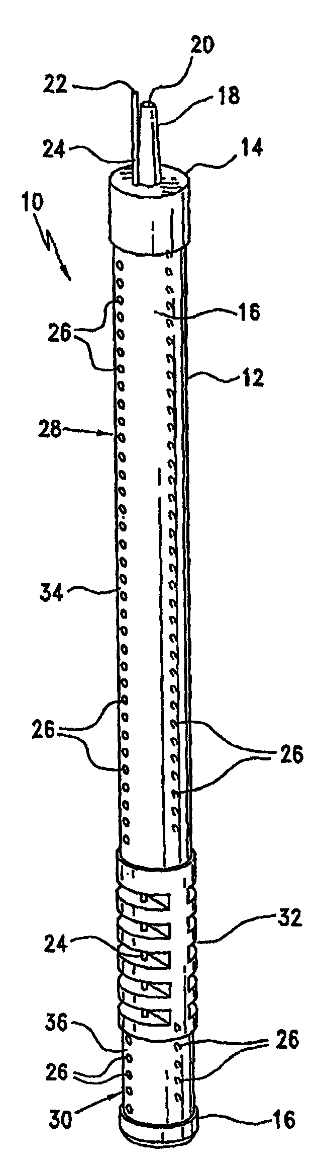
标题:
通过内窥镜执行胃缩小手术的装置和方法
授权日:
2012-07-04
公开(公告)号:
CN1907241B
申请日:
2006-08-04
公开(公告)日:
2012-07-04
当前申请(专利权)人:
伊西康内外科公司
发明人:
马克・S・奥尔蒂斯
简单同族:
AT416679T | AU2006203018A1 | AU2006203018B2 | BRPI0603187A2 | BRPI0603187B1 | CA2555061A1 | CA2555061C | CN1907241A | CN1907241B | DE602006004118D1 | EP1749480A1 | EP1749480B1 | ES2317461T3 | JP2007050248A | JP5117010B2 | US20070032702A1 | US7779845
简单同族成员数量:
17
简单同族被引用专利总数:
81
诉讼案件数:
0
法律状态/事件:
授权