首页
专利数据库
产业人才
行业动态
产业政策法规
维权援助
个人中心
登录/注册
详情
文本
图像
标题:
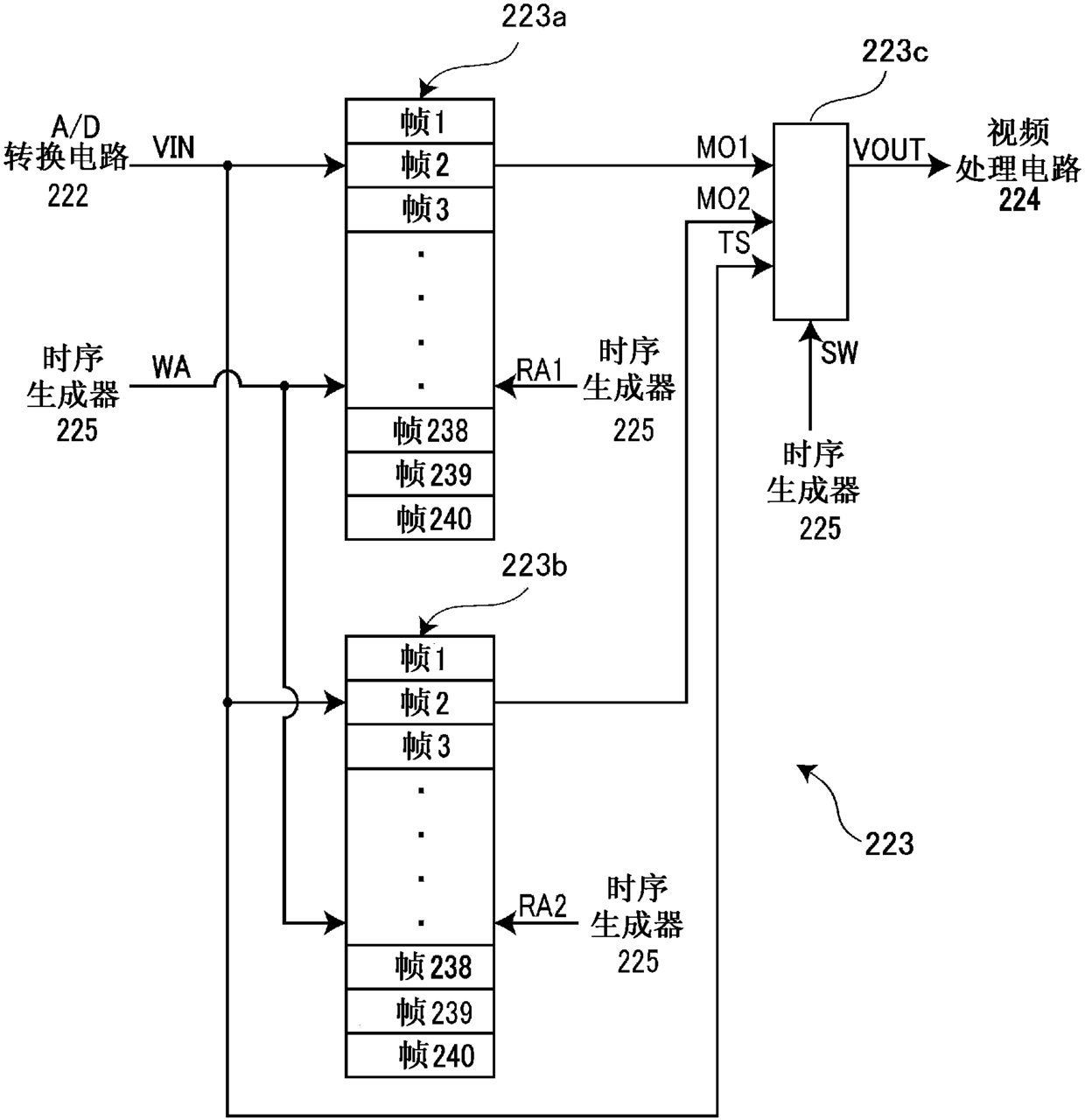
用于电子内窥镜的处理器和电子内窥镜设备
授权日:
2015-11-25
公开(公告)号:
CN103153163B
申请日:
2011-08-25
公开(公告)日:
2015-11-25
当前申请(专利权)人:
HOYA株式会社
发明人:
小泽了
简单同族:
CN103153163A | CN103153163B | DE112011103386T5 | JP2012080908A | JP5636247B2 | US20130123576A1 | US9332890 | WO2012046518A1
简单同族成员数量:
8
简单同族被引用专利总数:
289
诉讼案件数:
0
法律状态/事件:
授权