标题:
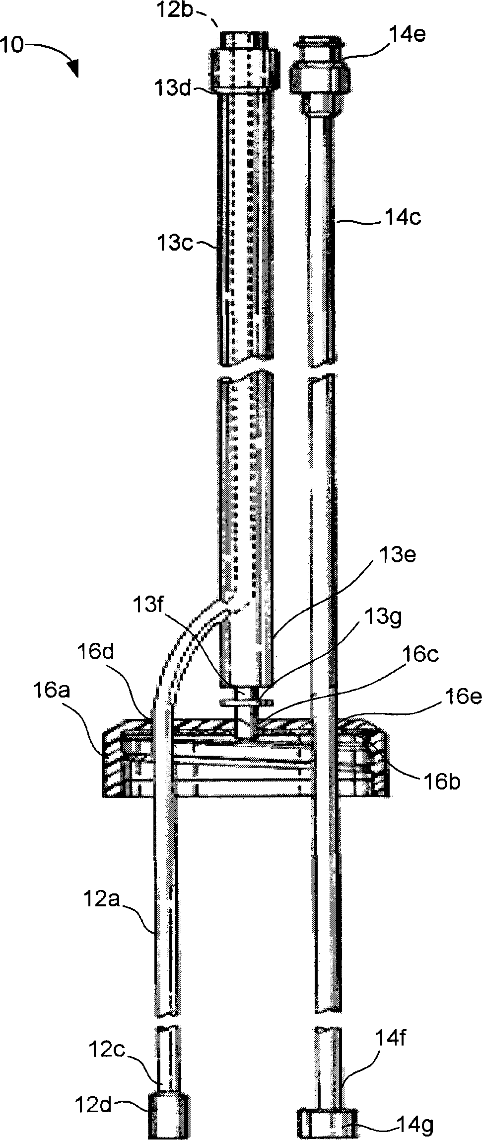
用于内窥镜灌注和镜头清洗的流体供应源的混合设备
授权日:
2015-09-30
公开(公告)号:
CN102551644B
申请日:
2011-10-08
公开(公告)日:
2015-09-30
当前申请(专利权)人:
厄比-美国有限公司
发明人:
D·G·莫里斯
简单同族:
BRPI1107460A2 | CN102551644A | CN102551644B | EP2476365A1 | EP2476365B1 | JP2012086014A | JP5481457B2 | PL2476365T3 | RU2011140823A | RU2519773C2 | US10098525 | US10111578 | US20120088974A1 | US20150141757A1 | US20150374213A1 | US20170265727A1 | US20190223701A1 | US8870756 | US9144374
简单同族成员数量:
19
简单同族被引用专利总数:
45
诉讼案件数:
0
法律状态/事件:
授权