首页
专利数据库
产业人才
行业动态
产业政策法规
维权援助
个人中心
登录/注册
详情
文本
图像
标题:
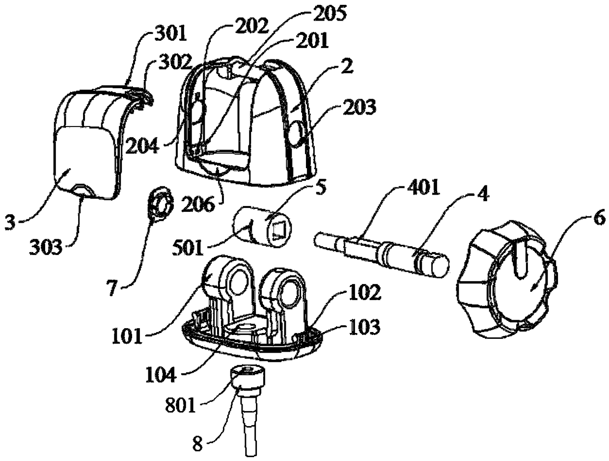
一种内窥镜套扎器
授权日:
2016-06-22
公开(公告)号:
CN205322405U
申请日:
2015-12-30
公开(公告)日:
2016-06-22
当前申请(专利权)人:
天津普生元医疗科技发展有限公司
发明人:
刘羽
简单同族:
CN205322405U
简单同族成员数量:
1
简单同族被引用专利总数:
0
诉讼案件数:
0
法律状态/事件:
授权