首页
专利数据库
产业人才
行业动态
产业政策法规
维权援助
个人中心
登录/注册
详情
文本
图像
标题:
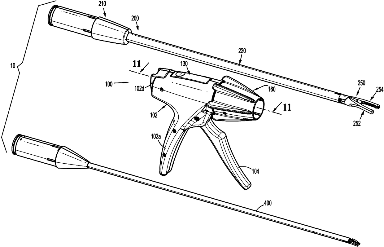
内窥镜可再用手术施夹器
授权日:
1900-01-01
公开(公告)号:
CN107595352A
申请日:
2017-07-07
公开(公告)日:
2018-01-19
当前申请(专利权)人:
柯惠LP公司
发明人:
雅各布·巴里尔
简单同族:
AU2017203869A1 | CA2971956A1 | CN107595352A | EP3269313A1 | JP2018008060A | US20180008277A1
简单同族成员数量:
6
简单同族被引用专利总数:
39
诉讼案件数:
0
法律状态/事件:
实质审查