首页
专利数据库
产业人才
行业动态
产业政策法规
维权援助
个人中心
登录/注册
详情
文本
图像
标题:
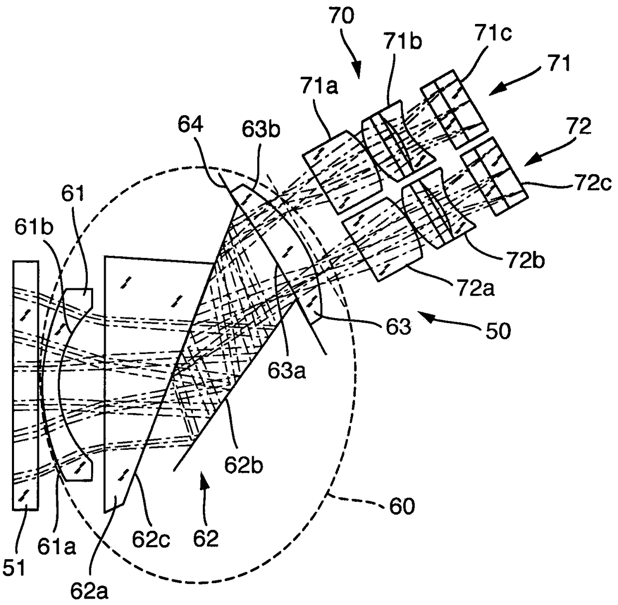
具有横向观看方向的立体视频内窥镜的光学系统以及具有横向观看方向的立体视频内窥镜
授权日:
2018-06-26
公开(公告)号:
CN105474066B
申请日:
2014-07-08
公开(公告)日:
2018-06-26
当前申请(专利权)人:
奥林匹斯冬季和IBE有限公司
发明人:
赵建新 | 鹈泽勉
简单同族:
CN105474066A | CN105474066B | DE102013215422A1 | JP2016527566A | JP2016527566A5 | JP6482553B2 | US10088665 | US20160154231A1 | WO2015018473A1
简单同族成员数量:
9
简单同族被引用专利总数:
30
诉讼案件数:
0
法律状态/事件:
授权