首页
专利数据库
产业人才
行业动态
产业政策法规
维权援助
个人中心
登录/注册
详情
文本
图像
标题:
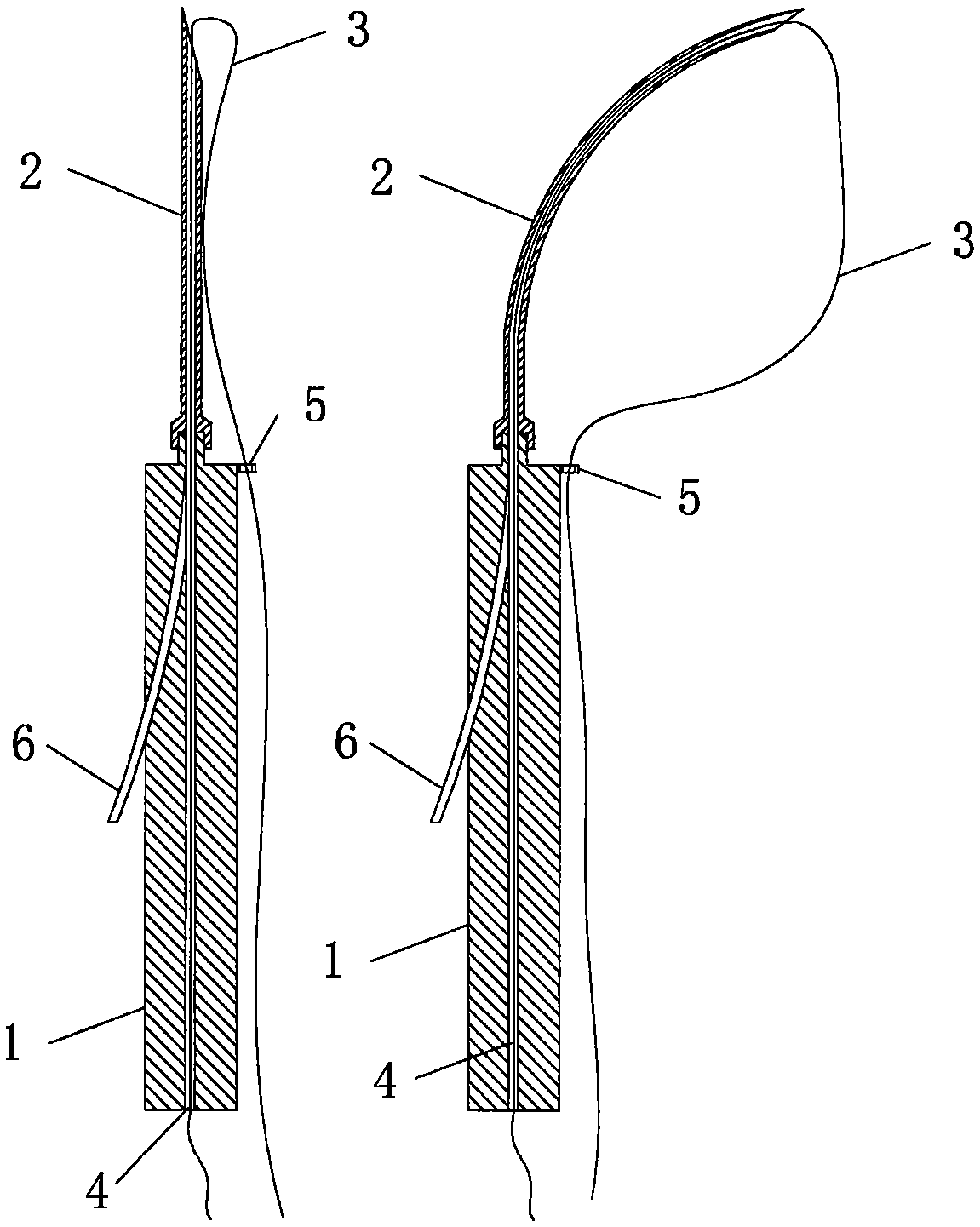
腹腔镜下腹外疝经腹壁结扎器
授权日:
1900-01-01
公开(公告)号:
CN105559839A
申请日:
2016-01-21
公开(公告)日:
2016-05-11
当前申请(专利权)人:
秦连进
发明人:
秦连进 | 孙鑫荣 | 鲍鹰 | 冯文明 | 黄三雄 | 朱沛枫 | 呼格吉乐
简单同族:
CN105559839A
简单同族成员数量:
1
简单同族被引用专利总数:
0
诉讼案件数:
0
法律状态/事件:
撤回