首页
专利数据库
产业人才
行业动态
产业政策法规
维权援助
个人中心
登录/注册
详情
文本
图像
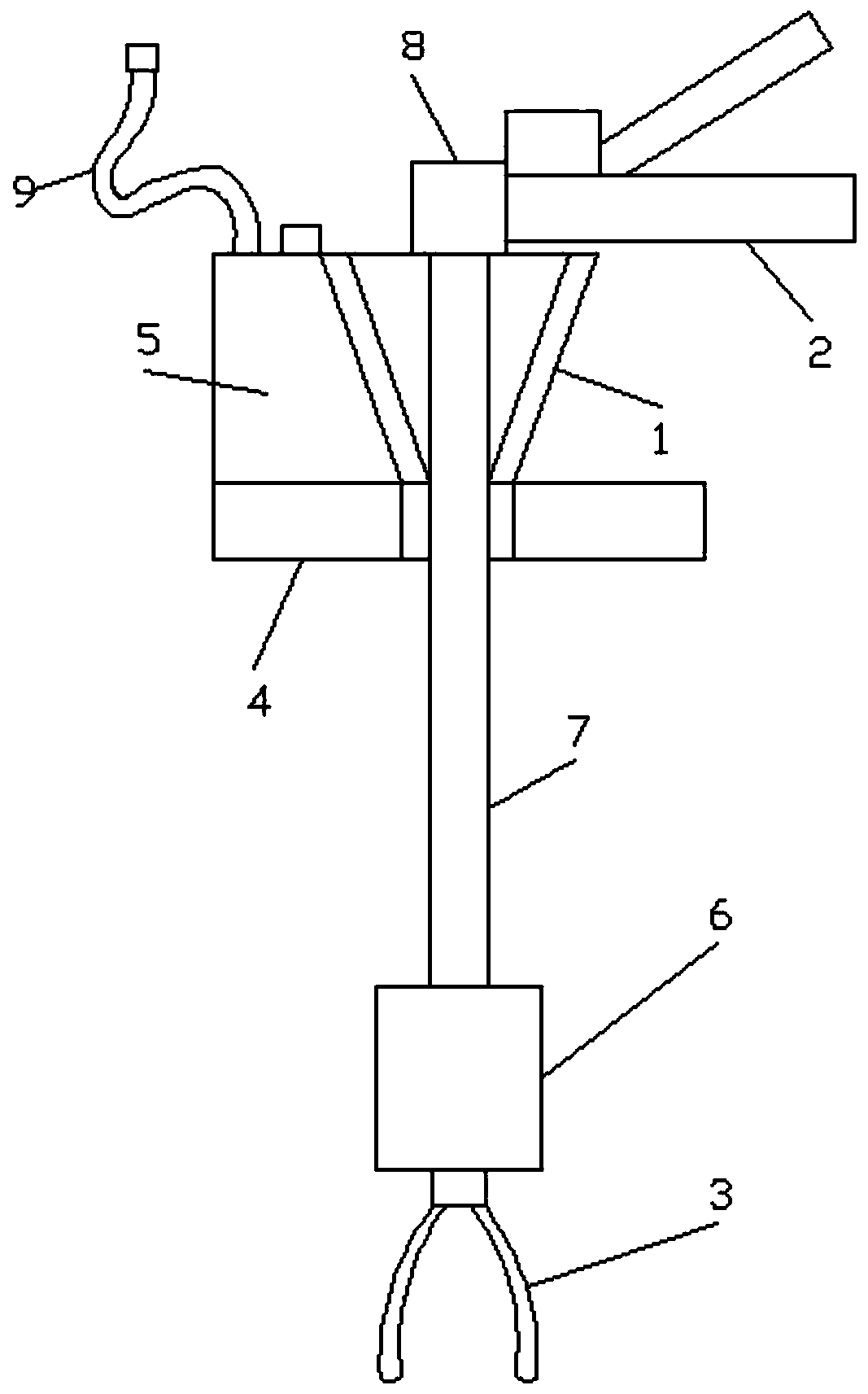
标题:
一种腹腔镜术中组织固定装置
授权日:
1900-01-01
公开(公告)号:
CN110236701A
申请日:
2019-07-22
公开(公告)日:
2019-09-17
当前申请(专利权)人:
青岛市妇女儿童医院(青岛市妇幼保健院、青岛市残疾儿童医疗康复中心、青岛市新生儿疾病筛查中心)
发明人:
刘海瑛 | 赵二开
简单同族:
CN110236701A
简单同族成员数量:
1
简单同族被引用专利总数:
0
诉讼案件数:
0
法律状态/事件:
实质审查