首页
专利数据库
产业人才
行业动态
产业政策法规
维权援助
个人中心
登录/注册
详情
文本
图像
标题:
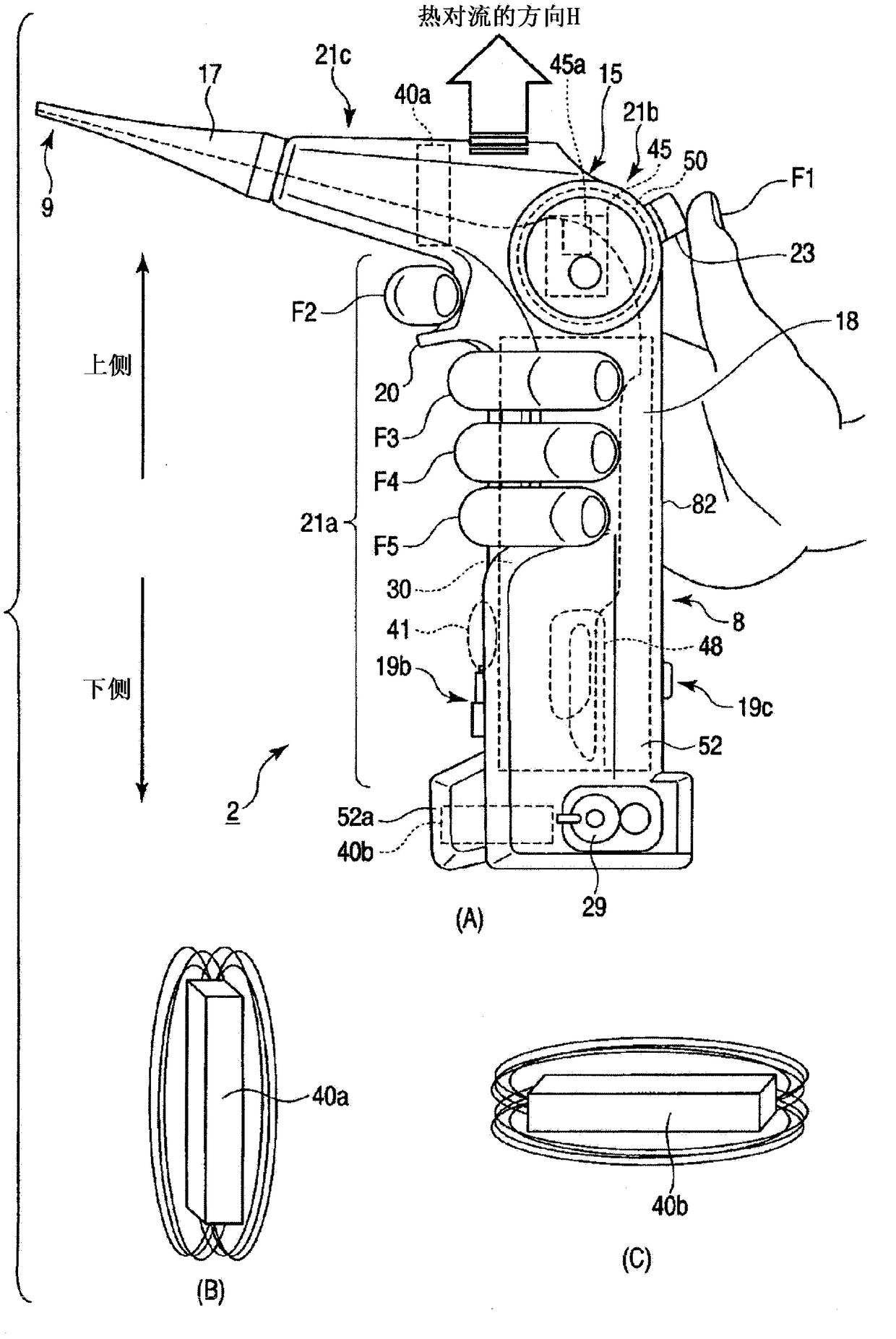
手持式无线内窥镜
授权日:
1900-01-01
公开(公告)号:
CN102469929A
申请日:
2010-10-27
公开(公告)日:
2012-05-23
当前申请(专利权)人:
奥林巴斯株式会社
发明人:
小川知辉 | 铃木健夫
简单同族:
CN102469929A | CN102469929B | EP2430972A1 | EP2430972A4 | EP2430972B1 | JP4879367B2 | JPWO2011068000A1 | US20110257481A1 | WO2011068000A1
简单同族成员数量:
9
简单同族被引用专利总数:
38
诉讼案件数:
0
法律状态/事件:
授权 | 权利转移