首页
专利数据库
产业人才
行业动态
产业政策法规
维权援助
个人中心
登录/注册
详情
文本
图像
标题:
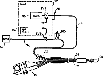
设有泄压装置的内窥镜设备
授权日:
1900-01-01
公开(公告)号:
CN101346096A
申请日:
2006-12-25
公开(公告)日:
2009-01-14
当前申请(专利权)人:
斯特赖克GI有限公司
发明人:
Y·巴尔奥尔 | O·达恩 | V·莱文 | M·沙维特
简单同族:
AU2006329596A1 | BRPI0621261A2 | CA2634844A1 | CN101346096A | EP1965690A2 | JP2009521297A | KR1020080078015A | US20070179432A1 | WO2007074442A2 | WO2007074442A3
简单同族成员数量:
10
简单同族被引用专利总数:
32
诉讼案件数:
0
法律状态/事件:
撤回