首页
专利数据库
产业人才
行业动态
产业政策法规
维权援助
个人中心
登录/注册
详情
文本
图像
标题:
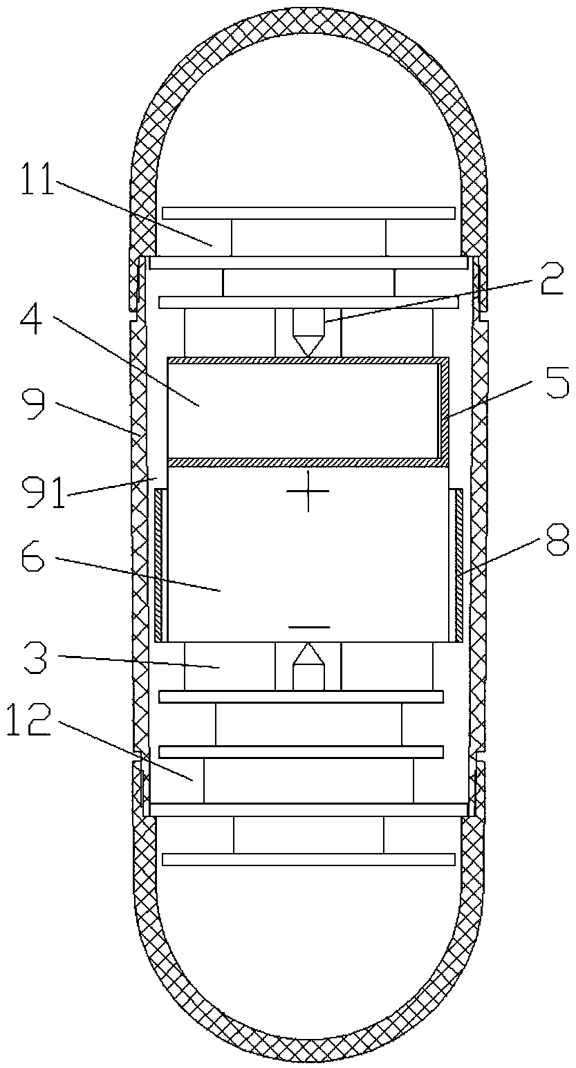
一种供电结构和胶囊内窥镜
授权日:
1900-01-01
公开(公告)号:
CN109349985A
申请日:
2018-11-30
公开(公告)日:
2019-02-19
当前申请(专利权)人:
重庆金山医疗器械有限公司
发明人:
阳俊 | 黎进 | 杨伯书 | 肖建明 | 朱思辉 | 胡勇
简单同族:
CN109349985A
简单同族成员数量:
1
简单同族被引用专利总数:
0
诉讼案件数:
0
法律状态/事件:
实质审查