首页
专利数据库
产业人才
行业动态
产业政策法规
维权援助
个人中心
登录/注册
详情
文本
图像
标题:
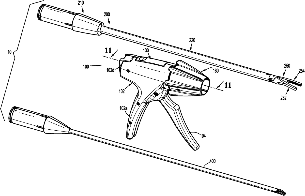
内窥镜可再用手术夹施加器
授权日:
1900-01-01
公开(公告)号:
CN107049408A
申请日:
2016-11-10
公开(公告)日:
2017-08-18
当前申请(专利权)人:
柯惠LP公司
发明人:
享利·E·霍尔斯滕 | 亚当·I·莱曼 | 凯瑟琳·L·斯潘塞 | 里哈德·利·克隆斯
简单同族:
CA2947820A1 | CN107049408A | EP3170460A1 | JP2017099866A | US10390831 | US20170128071A1 | US20190328391A1
简单同族成员数量:
7
简单同族被引用专利总数:
49
诉讼案件数:
0
法律状态/事件:
撤回