首页
专利数据库
产业人才
行业动态
产业政策法规
维权援助
个人中心
登录/注册
详情
文本
图像
标题:
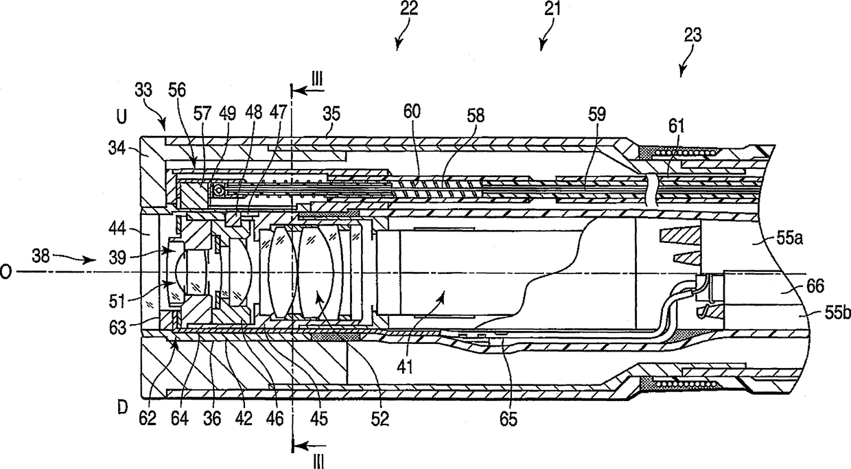
内窥镜插入部
授权日:
2013-10-30
公开(公告)号:
CN102131450B
申请日:
2009-10-23
公开(公告)日:
2013-10-30
当前申请(专利权)人:
奥林巴斯株式会社
发明人:
青野进 | 小久保光贵
简单同族:
CN102131450A | CN102131450B | EP2324754A1 | EP2324754A4 | EP2324754B1 | JP4624484B2 | JPWO2010047396A1 | US20100268027A1 | US8142351 | WO2010047396A1
简单同族成员数量:
10
简单同族被引用专利总数:
42
诉讼案件数:
0
法律状态/事件:
授权 | 权利转移