首页
专利数据库
产业人才
行业动态
产业政策法规
维权援助
个人中心
登录/注册
详情
文本
图像
标题:
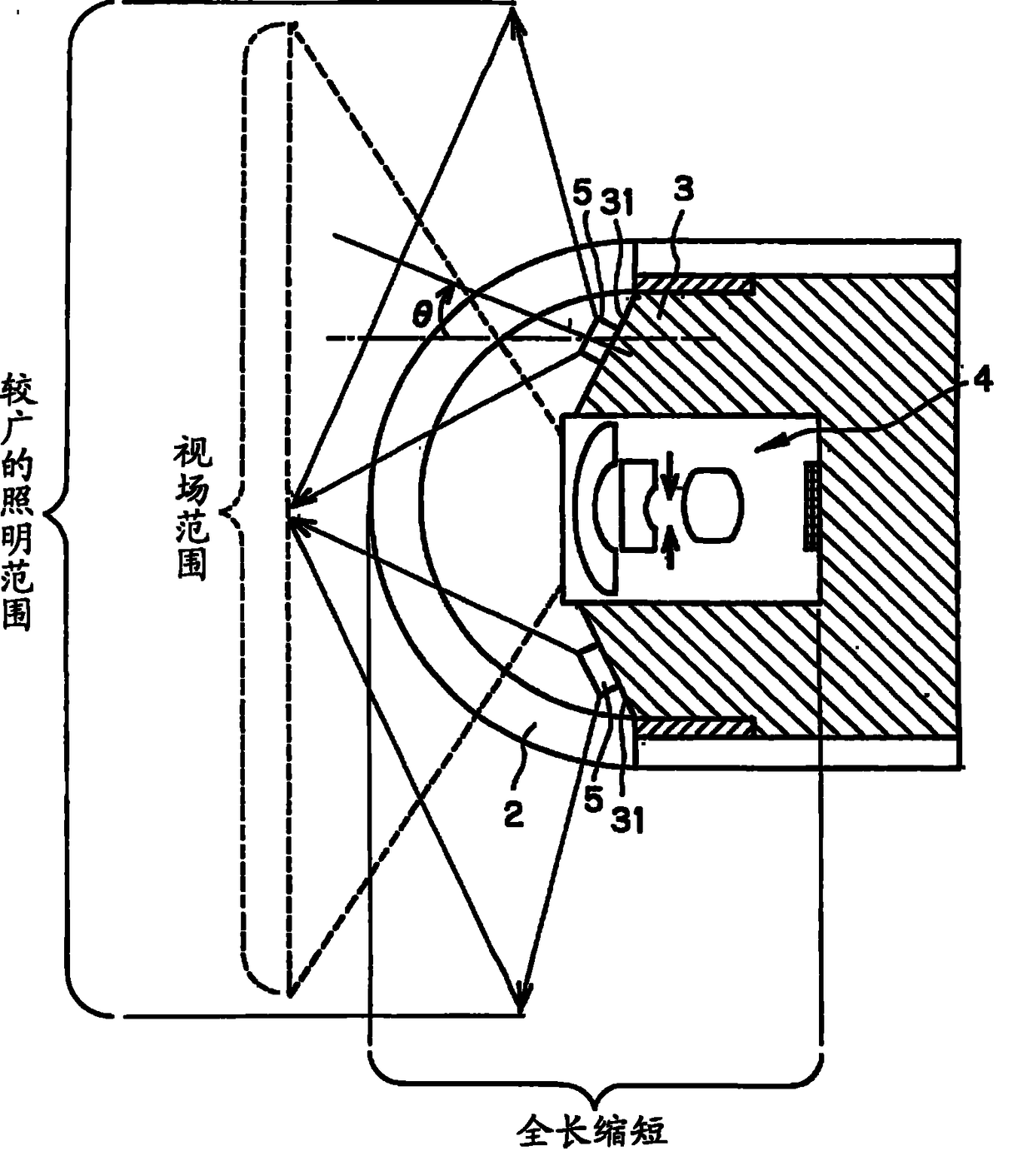
胶囊内窥镜
授权日:
2012-10-10
公开(公告)号:
CN101380219B
申请日:
2008-08-21
公开(公告)日:
2012-10-10
当前申请(专利权)人:
奥林巴斯株式会社
发明人:
折原达也 | 福堀仁志
简单同族:
CN101380219A | CN101380219B | EP2033570A1 | EP2033570B1 | JP2009061097A | JP2009061097A5 | US20090069633A1
简单同族成员数量:
7
简单同族被引用专利总数:
36
诉讼案件数:
0
法律状态/事件:
未缴年费 | 权利转移