标题:
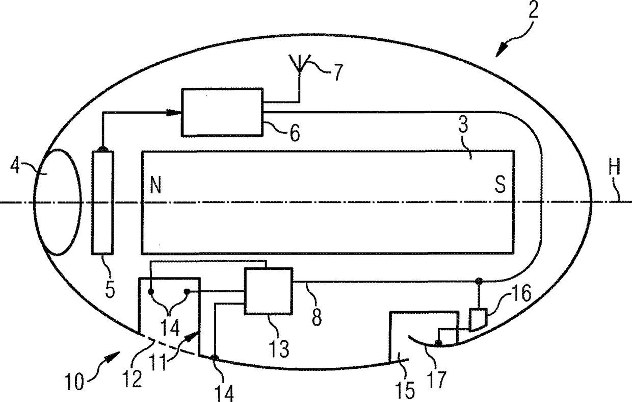
胶囊内窥镜
授权日:
2015-01-21
公开(公告)号:
CN102006822B
申请日:
2009-04-02
公开(公告)日:
2015-01-21
当前申请(专利权)人:
西门子公司
发明人:
塞巴斯蒂安·施密特 | 克莱门斯·比利塔 | 斯特凡·弗奇 | 诺贝特·格莱泽尔 | 赖纳·格劳曼 | 阿恩·亨格勒 | 路德维希·赫布斯特 | 赖纳·库特 | 伯恩哈德·罗阿斯
简单同族:
BRPI0911101A2 | CN102006822A | CN102006822B | CN104473619A | EP2265168A1 | JP2011516226A | JP5595378B2 | KR101608550B1 | KR1020100134043A | MX2010011441A | US20110092787A1 | US8870767 | WO2009127528A1
简单同族成员数量:
13
简单同族被引用专利总数:
46
诉讼案件数:
0
法律状态/事件:
未缴年费