首页
专利数据库
产业人才
行业动态
产业政策法规
维权援助
个人中心
登录/注册
详情
文本
图像
标题:
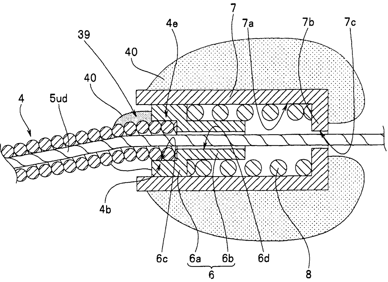
医疗器械、内窥镜用外套管、内窥镜装置
授权日:
2012-10-10
公开(公告)号:
CN101449956B
申请日:
2008-11-25
公开(公告)日:
2012-10-10
当前申请(专利权)人:
奥林巴斯株式会社
发明人:
万寿和夫
简单同族:
CN101449956A | CN101449956B | JP2009153959A | JP2009153959A5 | JP5144282B2
简单同族成员数量:
5
简单同族被引用专利总数:
31
诉讼案件数:
0
法律状态/事件:
授权 | 权利转移