首页
专利数据库
产业人才
行业动态
产业政策法规
维权援助
个人中心
登录/注册
详情
文本
图像
标题:
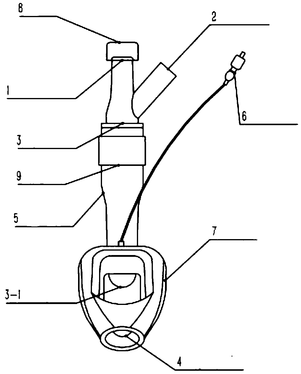
一种内窥镜专用喉罩
授权日:
2019-12-13
公开(公告)号:
CN209771044U
申请日:
2018-12-26
公开(公告)日:
2019-12-13
当前申请(专利权)人:
江苏立峰生物科技有限公司
发明人:
戴俊峰
简单同族:
CN209771044U
简单同族成员数量:
1
简单同族被引用专利总数:
0
诉讼案件数:
0
法律状态/事件:
授权