首页
专利数据库
产业人才
行业动态
产业政策法规
维权援助
个人中心
登录/注册
详情
文本
图像
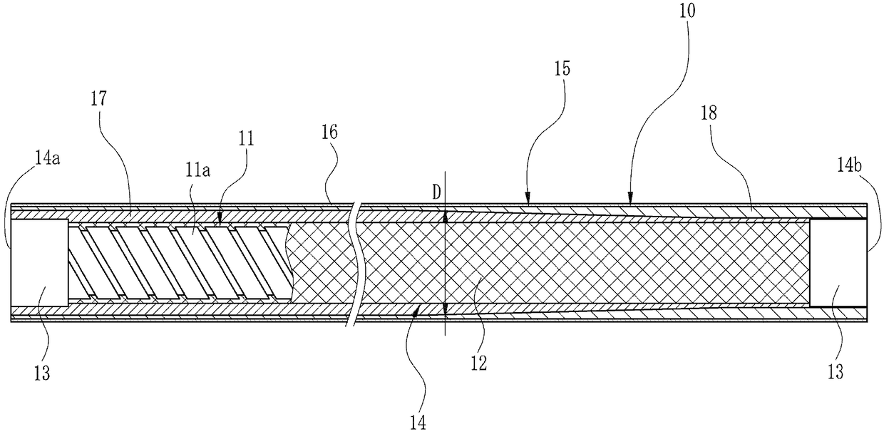
标题:
内窥镜用挠性管及该内窥镜用挠性管的制造方法
授权日:
1900-01-01
公开(公告)号:
CN102548462A
申请日:
2010-09-13
公开(公告)日:
2012-07-04
当前申请(专利权)人:
富士胶片株式会社
发明人:
高桥伸治
简单同族:
CN102548462A | EP2484269A1 | EP2484269A4 | EP2484269B1 | JP2011072391A | JP5755835B2 | US20120180896A1 | US9044139 | WO2011040215A1
简单同族成员数量:
9
简单同族被引用专利总数:
48
诉讼案件数:
0
法律状态/事件:
撤回