首页
专利数据库
产业人才
行业动态
产业政策法规
维权援助
个人中心
登录/注册
详情
文本
图像
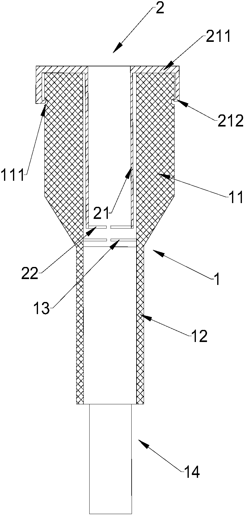
标题:
一种适配经腹腔镜射频消融术的戳卡
授权日:
2018-07-17
公开(公告)号:
CN207613864U
申请日:
2017-05-09
公开(公告)日:
2018-07-17
当前申请(专利权)人:
中国医科大学附属第一医院
发明人:
张佳林 | 焦奥 | 张城硕 | 吕武 | 李晓航
简单同族:
CN207613864U
简单同族成员数量:
1
简单同族被引用专利总数:
0
诉讼案件数:
0
法律状态/事件:
授权