首页
专利数据库
产业人才
行业动态
产业政策法规
维权援助
个人中心
登录/注册
详情
文本
图像
标题:
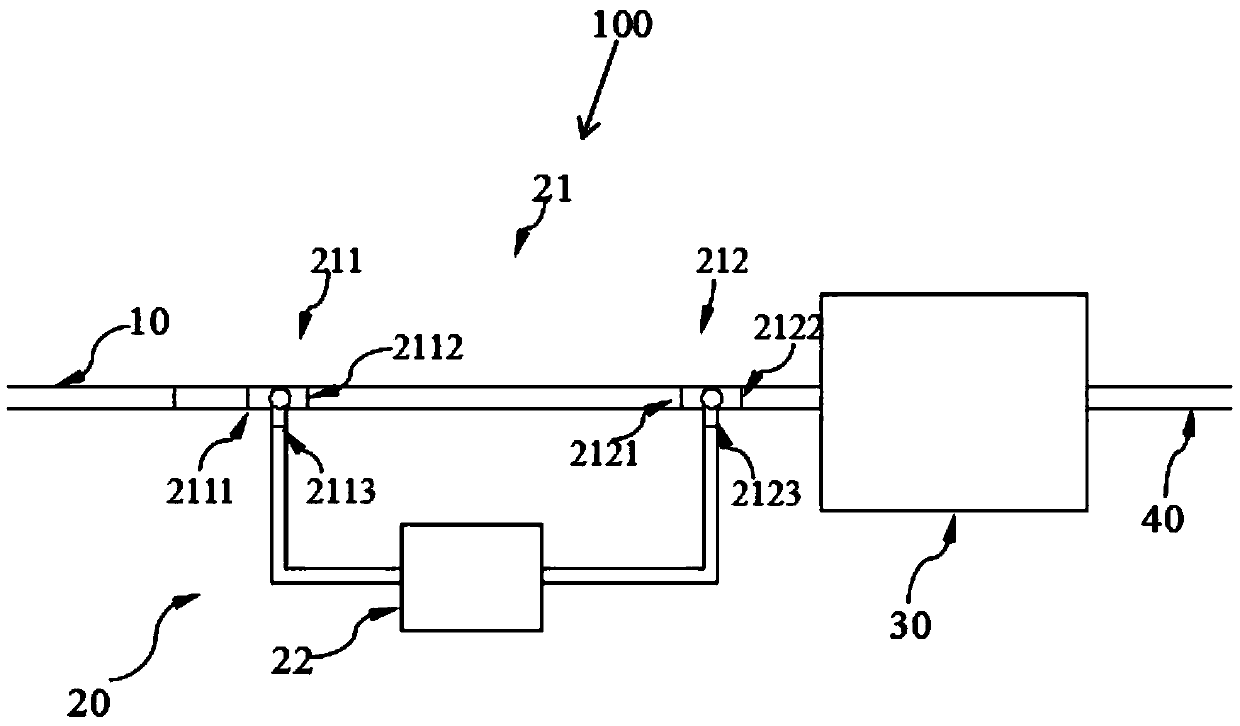
腹腔镜手术用烟雾过滤器
授权日:
2019-07-30
公开(公告)号:
CN209172489U
申请日:
2018-05-15
公开(公告)日:
2019-07-30
当前申请(专利权)人:
中国人民解放军第二军医大学
发明人:
谭蔚锋 | 崔龙久 | 范明明 | 冉荣征 | 尤天庚 | 李想 | 丛壮志 | 丁雪梅
简单同族:
CN209172489U
简单同族成员数量:
1
简单同族被引用专利总数:
0
诉讼案件数:
0
法律状态/事件:
授权