标题:
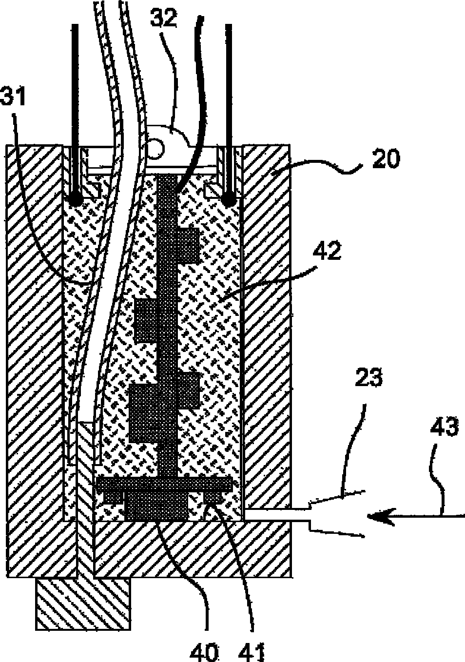
具有照相机壳体的内窥镜及制造照相机壳体的方法
授权日:
1900-01-01
公开(公告)号:
CN102307510A
申请日:
2009-12-09
公开(公告)日:
2012-01-04
当前申请(专利权)人:
阿姆布股份有限公司
发明人:
拉塞·谢尔德·吉奥斯克·彼得森
简单同族:
BRPI0922447A2 | BRPI0922447B1 | CN102307510A | CN102307510B | EP2387346A1 | EP2387346B1 | ES2551131T3 | JP2012511357A | JP5414806B2 | RU2011128392A | RU2510234C2 | US20110288372A1 | US20150005580A1 | US9125582 | US9220400 | WO2010066790A1
简单同族成员数量:
16
简单同族被引用专利总数:
79
诉讼案件数:
0
法律状态/事件:
授权