首页
专利数据库
产业人才
行业动态
产业政策法规
维权援助
个人中心
登录/注册
详情
文本
图像
标题:
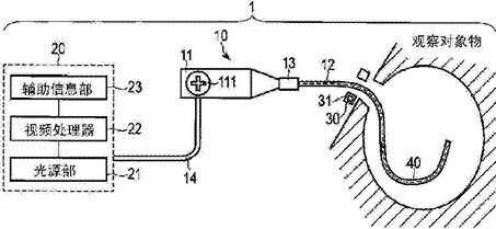
内窥镜装置的插入辅助信息检测系统及内窥镜装置
授权日:
2017-05-17
公开(公告)号:
CN104837397B
申请日:
2013-11-19
公开(公告)日:
2017-05-17
当前申请(专利权)人:
奥林巴斯株式会社
发明人:
伊藤毅 | 羽根润 | 藤田浩正 | 东条良
简单同族:
CN104837397A | CN104837397B | EP2932883A1 | EP2932883A4 | JP2014113352A | JP6205125B2 | US20150305597A1 | WO2014091885A1
简单同族成员数量:
8
简单同族被引用专利总数:
35
诉讼案件数:
0
法律状态/事件:
未缴年费