首页
专利数据库
产业人才
行业动态
产业政策法规
维权援助
个人中心
登录/注册
详情
文本
图像
标题:
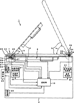
内窥镜洗涤消毒装置
授权日:
1900-01-01
公开(公告)号:
CN101166457A
申请日:
2006-04-20
公开(公告)日:
2008-04-23
当前申请(专利权)人:
奥林巴斯株式会社
发明人:
铃木英理 | 野口利昭
简单同族:
CN101166457A | CN101166457B | EP1875856A1 | EP1875856A4 | EP1875856B1 | JP2006296982A | JP4700397B2 | KR100911792B1 | KR1020070103491A | US20090065034A1 | US8034193 | WO2006115177A1
简单同族成员数量:
12
简单同族被引用专利总数:
65
诉讼案件数:
0
法律状态/事件:
未缴年费 | 权利转移