首页
专利数据库
产业人才
行业动态
产业政策法规
维权援助
个人中心
登录/注册
详情
文本
图像
标题:
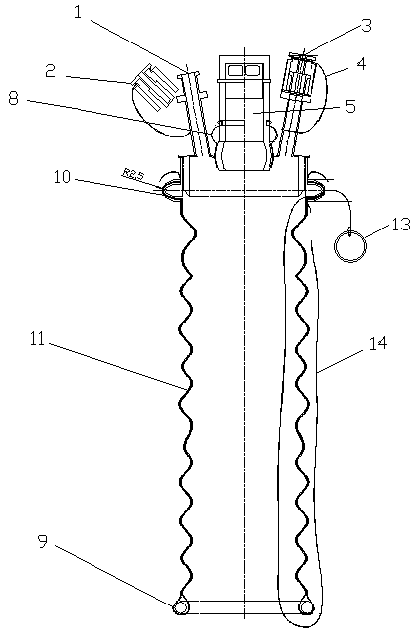
单孔腹腔镜套管
授权日:
2013-10-09
公开(公告)号:
CN203226894U
申请日:
2013-01-08
公开(公告)日:
2013-10-09
当前申请(专利权)人:
中国人民解放军兰州军区兰州总医院
发明人:
王养民 | 常德辉 | 乔够梅 | 张斌 | 景德善 | 宋灵敏 | 邱建东 | 杨旭凯 | 蓝天 | 杨琦
简单同族:
CN203226894U
简单同族成员数量:
1
简单同族被引用专利总数:
0
诉讼案件数:
0
法律状态/事件:
未缴年费