首页
专利数据库
产业人才
行业动态
产业政策法规
维权援助
个人中心
登录/注册
详情
文本
图像
标题:
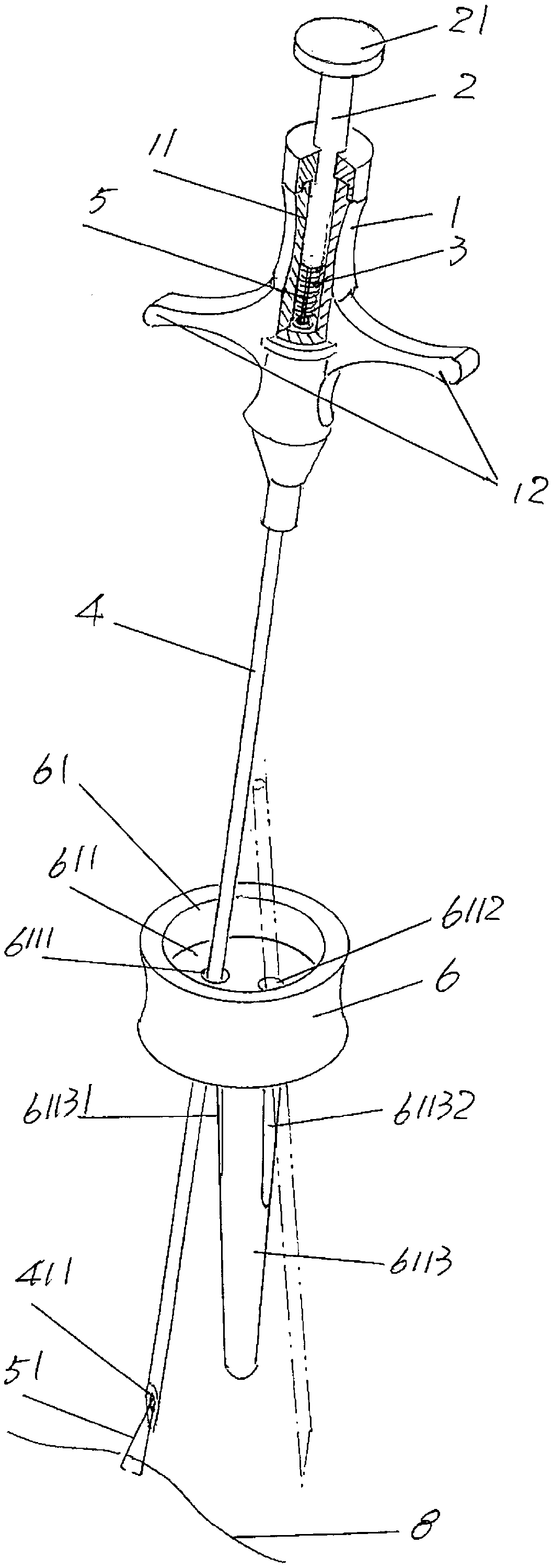
腹腔镜腹壁吻合器
授权日:
2019-12-27
公开(公告)号:
CN209847263U
申请日:
2019-04-10
公开(公告)日:
2019-12-27
当前申请(专利权)人:
安能医疗器械(常熟)有限公司
发明人:
曹军旗 | 冯永良
简单同族:
CN209847263U
简单同族成员数量:
1
简单同族被引用专利总数:
0
诉讼案件数:
0
法律状态/事件:
授权