首页
专利数据库
产业人才
行业动态
产业政策法规
维权援助
个人中心
登录/注册
详情
文本
图像
标题:
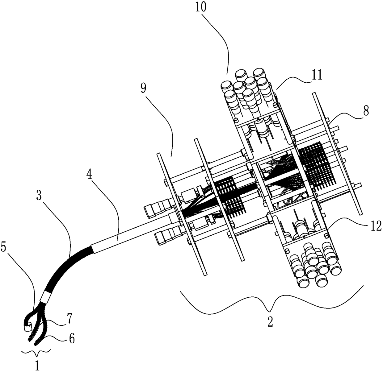
内窥镜无创手术系统
授权日:
2015-03-18
公开(公告)号:
CN103315781B
申请日:
2013-07-10
公开(公告)日:
2015-03-18
当前申请(专利权)人:
北京术锐技术有限公司
发明人:
徐凯 | 赵江然 | 郑西点 | 邱冬 | 冯波 | 郑民华
简单同族:
CN103315781A | CN103315781B
简单同族成员数量:
2
简单同族被引用专利总数:
39
诉讼案件数:
0
法律状态/事件:
授权 | 权利转移