首页
专利数据库
产业人才
行业动态
产业政策法规
维权援助
个人中心
登录/注册
详情
文本
图像
标题:
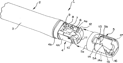
内窥镜用前端罩和使用该前端罩的内窥镜
授权日:
2008-05-07
公开(公告)号:
CN201055370Y
申请日:
2007-04-23
公开(公告)日:
2008-05-07
当前申请(专利权)人:
奥林巴斯株式会社
发明人:
滨崎昌典 | 北野诚二
简单同族:
CN101061940A | CN101061940B | CN201055370Y | DE602007007386D1 | EP1849397A1 | EP1849397B1 | JP2007289434A | JP4855824B2 | US20070246506A1 | US8038604
简单同族成员数量:
10
简单同族被引用专利总数:
80
诉讼案件数:
0
法律状态/事件:
未缴年费 | 权利转移