首页
专利数据库
产业人才
行业动态
产业政策法规
维权援助
个人中心
登录/注册
详情
文本
图像
标题:
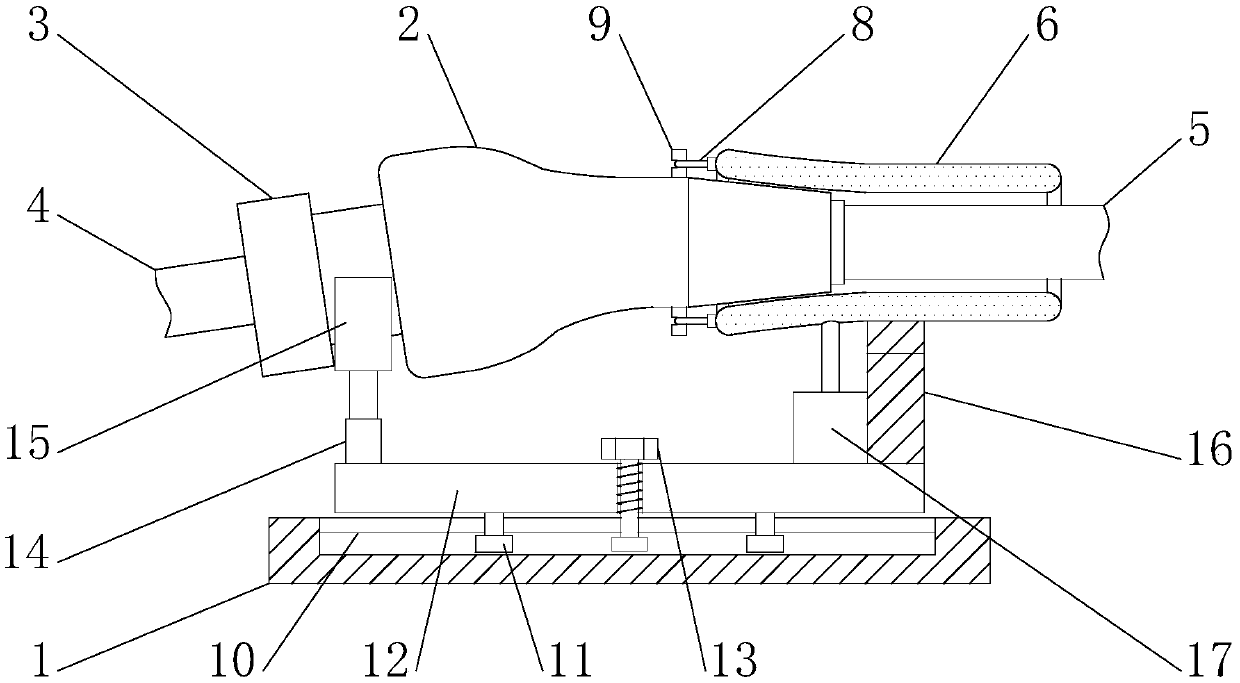
一种腹腔镜防弯折保护套
授权日:
2019-12-03
公开(公告)号:
CN209713153U
申请日:
2018-06-20
公开(公告)日:
2019-12-03
当前申请(专利权)人:
南京市妇幼保健院
发明人:
胡静
简单同族:
CN209713153U
简单同族成员数量:
1
简单同族被引用专利总数:
0
诉讼案件数:
0
法律状态/事件:
授权