首页
专利数据库
产业人才
行业动态
产业政策法规
维权援助
个人中心
登录/注册
详情
文本
图像
标题:
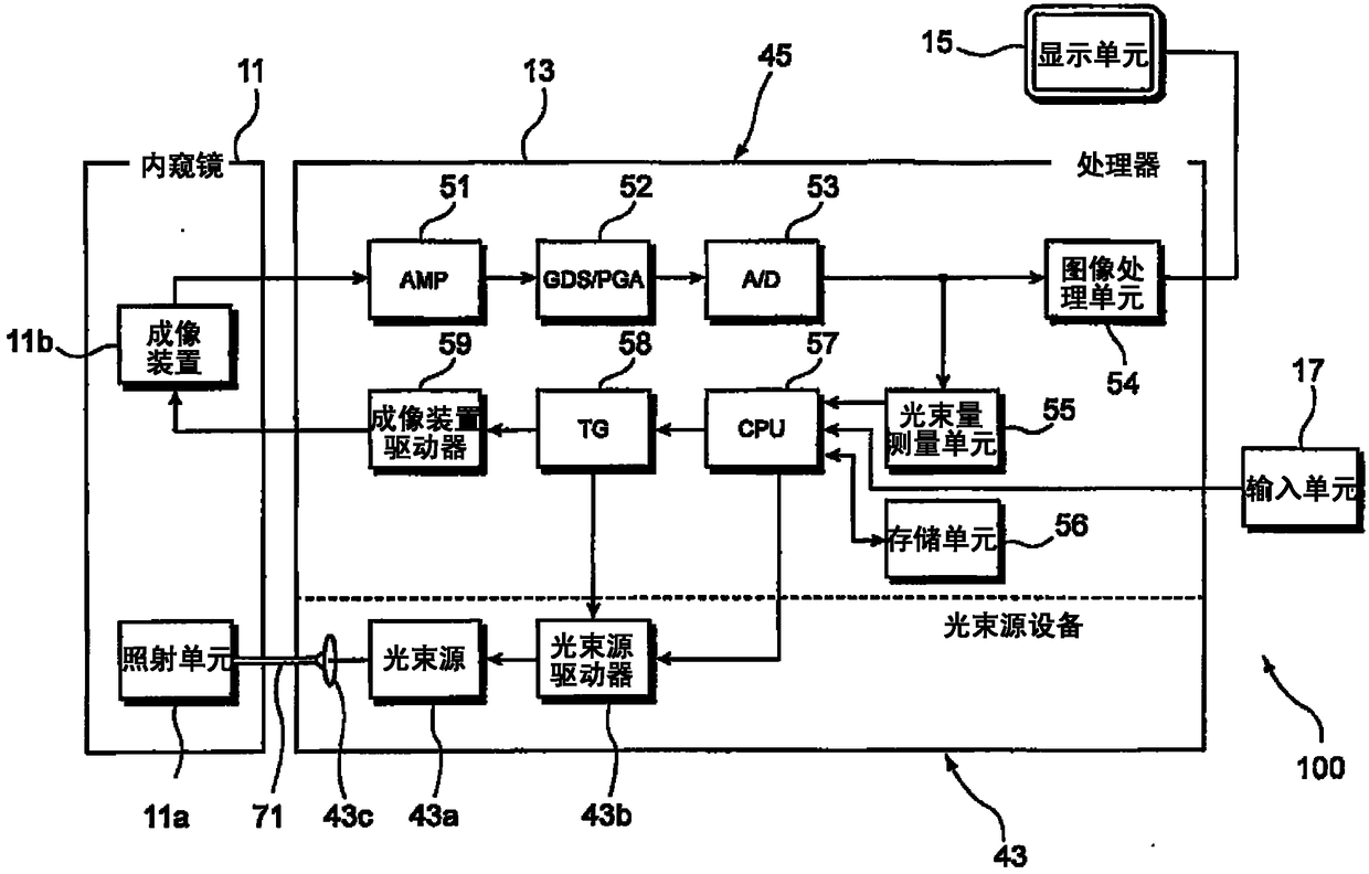
内窥镜光束源设备和内窥镜系统
授权日:
1900-01-01
公开(公告)号:
CN102334971A
申请日:
2011-07-15
公开(公告)日:
2012-02-01
当前申请(专利权)人:
富士胶片株式会社
发明人:
濑户康宏 | 村上浩史
简单同族:
CN102334971A | CN102334971B | EP2407088A2 | EP2407088A3 | EP2407088B1 | JP2012019983A | JP5544231B2 | US20120016201A1 | US8540626
简单同族成员数量:
9
简单同族被引用专利总数:
66
诉讼案件数:
0
法律状态/事件:
授权