首页
专利数据库
产业人才
行业动态
产业政策法规
维权援助
个人中心
登录/注册
详情
文本
图像
标题:
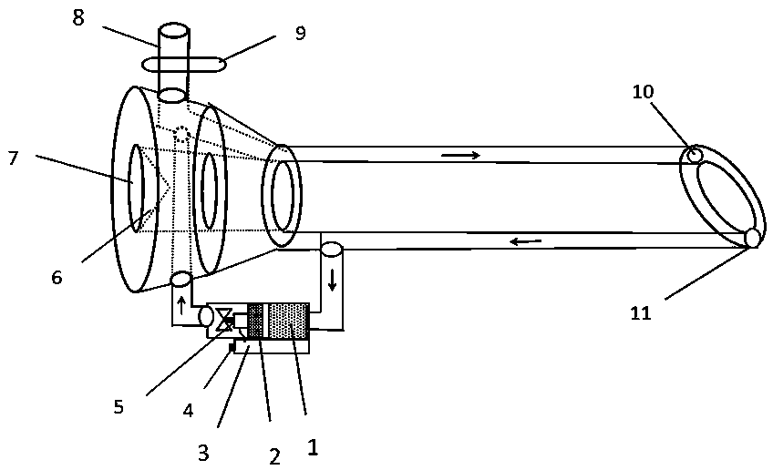
一种具有净化烟雾功能的腹腔镜穿刺套管器
授权日:
2019-06-11
公开(公告)号:
CN208958273U
申请日:
2017-08-07
公开(公告)日:
2019-06-11
当前申请(专利权)人:
耿金宏
发明人:
耿金宏
简单同族:
CN208958273U
简单同族成员数量:
1
简单同族被引用专利总数:
0
诉讼案件数:
0
法律状态/事件:
授权