首页
专利数据库
产业人才
行业动态
产业政策法规
维权援助
个人中心
登录/注册
详情
文本
图像
标题:
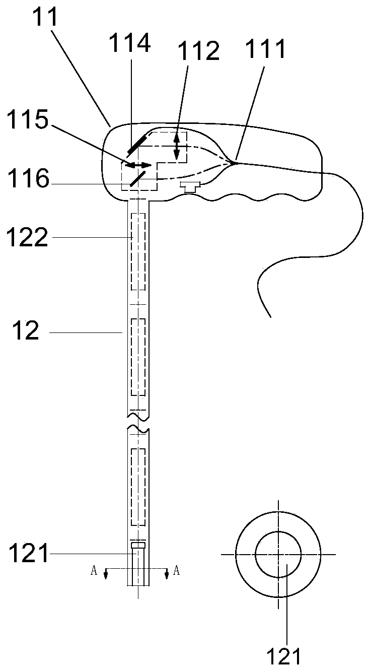
腔体内窥镜探测装置及三维非线性激光扫描腔体内窥镜
授权日:
1900-01-01
公开(公告)号:
CN109730626A
申请日:
2019-01-31
公开(公告)日:
2019-05-10
当前申请(专利权)人:
北京超维景生物科技有限公司
发明人:
吴润龙 | 王爱民 | 江文茂 | 吴丹磊 | 胡炎辉 | 徐阳阳 | 程和平
简单同族:
CN109730626A
简单同族成员数量:
1
简单同族被引用专利总数:
0
诉讼案件数:
0
法律状态/事件:
实质审查