首页
专利数据库
产业人才
行业动态
产业政策法规
维权援助
个人中心
登录/注册
详情
文本
图像
标题:
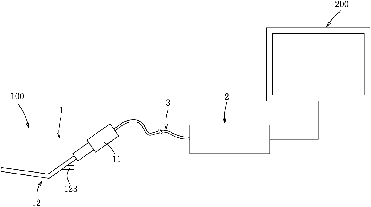
内视镜取像装置及内视镜系统
授权日:
2019-03-29
公开(公告)号:
CN208659308U
申请日:
2018-01-17
公开(公告)日:
2019-03-29
当前申请(专利权)人:
禾企电子股份有限公司
发明人:
汤明通
简单同族:
CN208659308U
简单同族成员数量:
1
简单同族被引用专利总数:
0
诉讼案件数:
0
法律状态/事件:
授权