首页
专利数据库
产业人才
行业动态
产业政策法规
维权援助
个人中心
登录/注册
详情
文本
图像
标题:
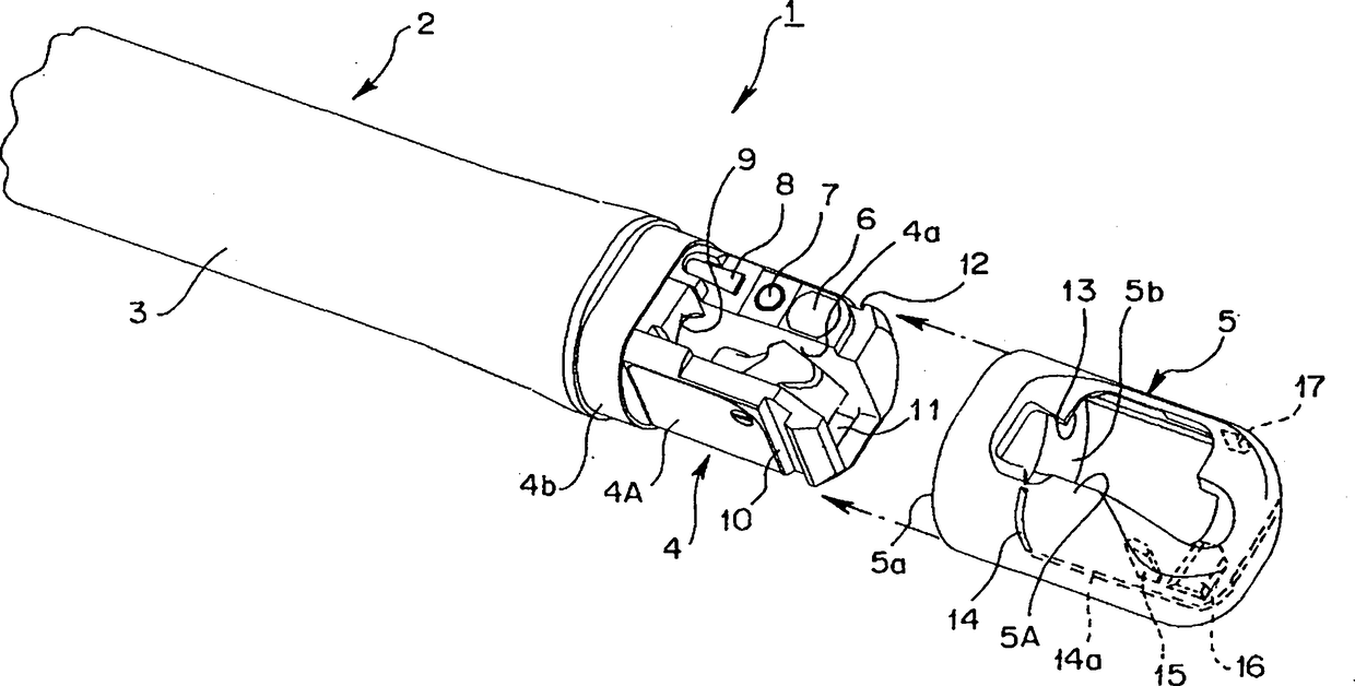
内窥镜用前端罩和使用该前端罩的内窥镜以及内窥镜的前端罩的拆卸方法
授权日:
2011-06-22
公开(公告)号:
CN101061940B
申请日:
2007-04-23
公开(公告)日:
2011-06-22
当前申请(专利权)人:
奥林巴斯株式会社
发明人:
滨崎昌典 | 北野诚二
简单同族:
CN101061940A | CN101061940B | CN201055370Y | DE602007007386D1 | EP1849397A1 | EP1849397B1 | JP2007289434A | JP4855824B2 | US20070246506A1 | US8038604
简单同族成员数量:
10
简单同族被引用专利总数:
80
诉讼案件数:
0
法律状态/事件:
授权 | 权利转移