首页
专利数据库
产业人才
行业动态
产业政策法规
维权援助
个人中心
登录/注册
详情
文本
图像
标题:
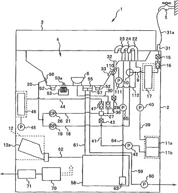
内窥镜清洗消毒装置、使用该装置的内窥镜清洗方法
授权日:
1900-01-01
公开(公告)号:
CN101632575A
申请日:
2009-05-26
公开(公告)日:
2010-01-27
当前申请(专利权)人:
奥林巴斯株式会社
发明人:
大西秀人 | 长谷川准 | 濑分隆太 | 富田雅彦 | 野口利昭
简单同族:
CN101632575A | CN101632575B | EP2147656A1 | EP2147656B1 | EP2147656B9 | JP2010022771A | JP5127619B2 | KR101102668B1 | KR1020100011884A | US20100022839A1
简单同族成员数量:
10
简单同族被引用专利总数:
33
诉讼案件数:
0
法律状态/事件:
授权 | 权利转移