首页
专利数据库
产业人才
行业动态
产业政策法规
维权援助
个人中心
登录/注册
详情
文本
图像
标题:
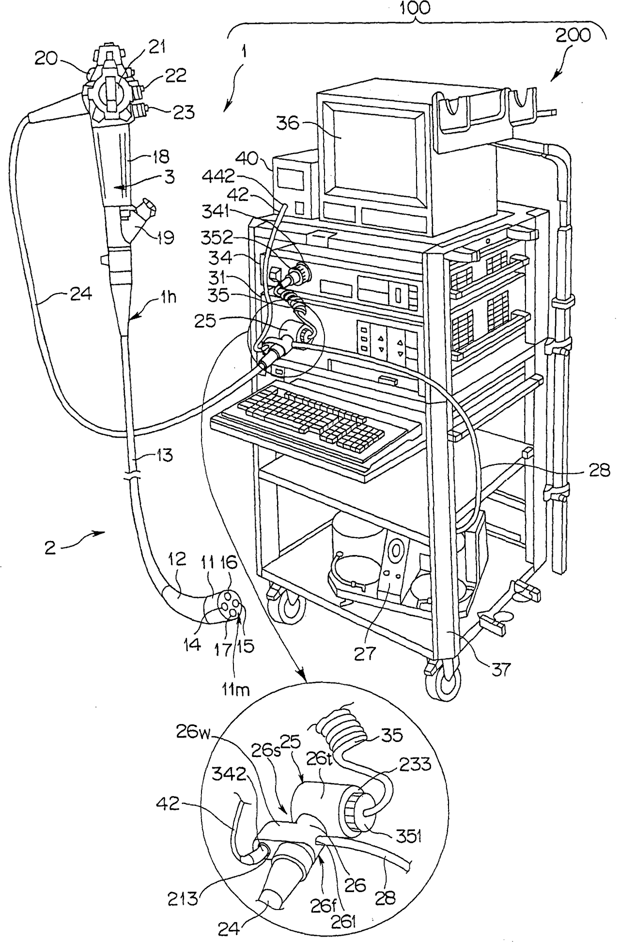
内窥镜、内窥镜装置、外部装置相对于内窥镜的连接方法
授权日:
2011-12-07
公开(公告)号:
CN101120869B
申请日:
2007-07-18
公开(公告)日:
2011-12-07
当前申请(专利权)人:
奥林巴斯株式会社
发明人:
吉满浩一 | 大田原崇
简单同族:
CN101120869A | CN101120869B | EP1886619A1 | EP1886619B1 | JP2008043450A | JP5173164B2 | US20080039689A1 | US8187175
简单同族成员数量:
8
简单同族被引用专利总数:
48
诉讼案件数:
0
法律状态/事件:
授权 | 权利转移