首页
专利数据库
产业人才
行业动态
产业政策法规
维权援助
个人中心
登录/注册
详情
文本
图像
标题:
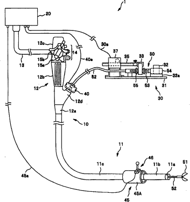
内窥镜系统、内窥镜用操作辅助装置
授权日:
2010-02-03
公开(公告)号:
CN100586362C
申请日:
2006-11-02
公开(公告)日:
2010-02-03
当前申请(专利权)人:
奥林巴斯株式会社
发明人:
小宫孝章 | 小贯喜生 | 仓康人 | 西家武弘
简单同族:
CN100586362C | CN1957836A | EP1782744A2 | EP1782744A3 | EP1782744B1 | JP2007125180A | JP5121132B2 | US20070100201A1 | US7871371
简单同族成员数量:
9
简单同族被引用专利总数:
137
诉讼案件数:
0
法律状态/事件:
授权 | 权利转移