首页
专利数据库
产业人才
行业动态
产业政策法规
维权援助
个人中心
登录/注册
详情
文本
图像
标题:
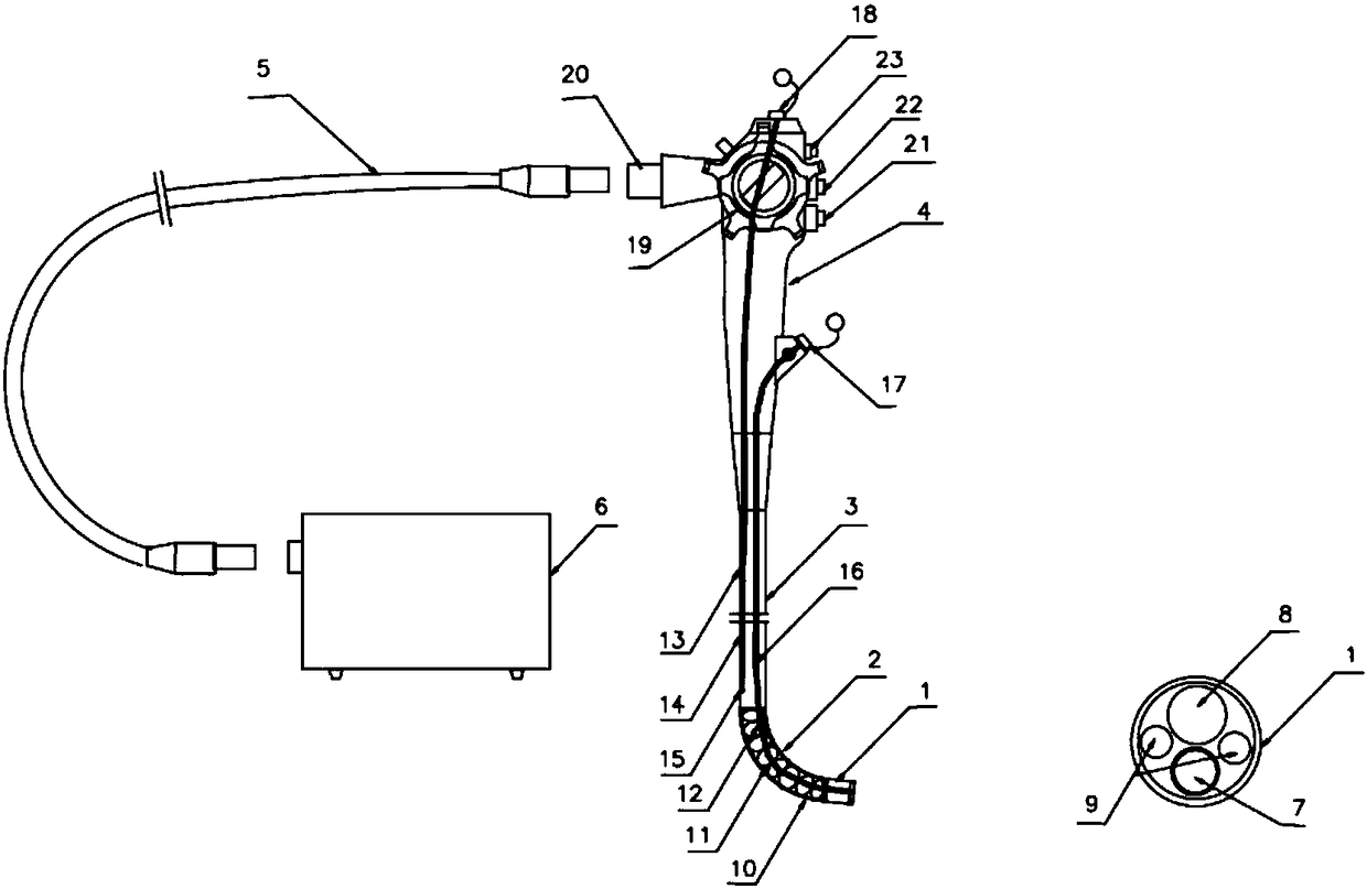
一种双钳道单孔可弯曲腹腔镜系统
授权日:
1900-01-01
公开(公告)号:
CN108577904A
申请日:
2018-06-22
公开(公告)日:
2018-09-28
当前申请(专利权)人:
西安交通大学医学院第一附属医院 | 西安西川医疗器械有限公司
发明人:
吕毅 | 潘西川 | 马锋 | 仵正 | 吴荣谦 | 朱皓阳 | 李宇 | 刘学民 | 王博
简单同族:
CN108577904A
简单同族成员数量:
1
简单同族被引用专利总数:
0
诉讼案件数:
0
法律状态/事件:
实质审查