首页
专利数据库
产业人才
行业动态
产业政策法规
维权援助
个人中心
登录/注册
详情
文本
图像
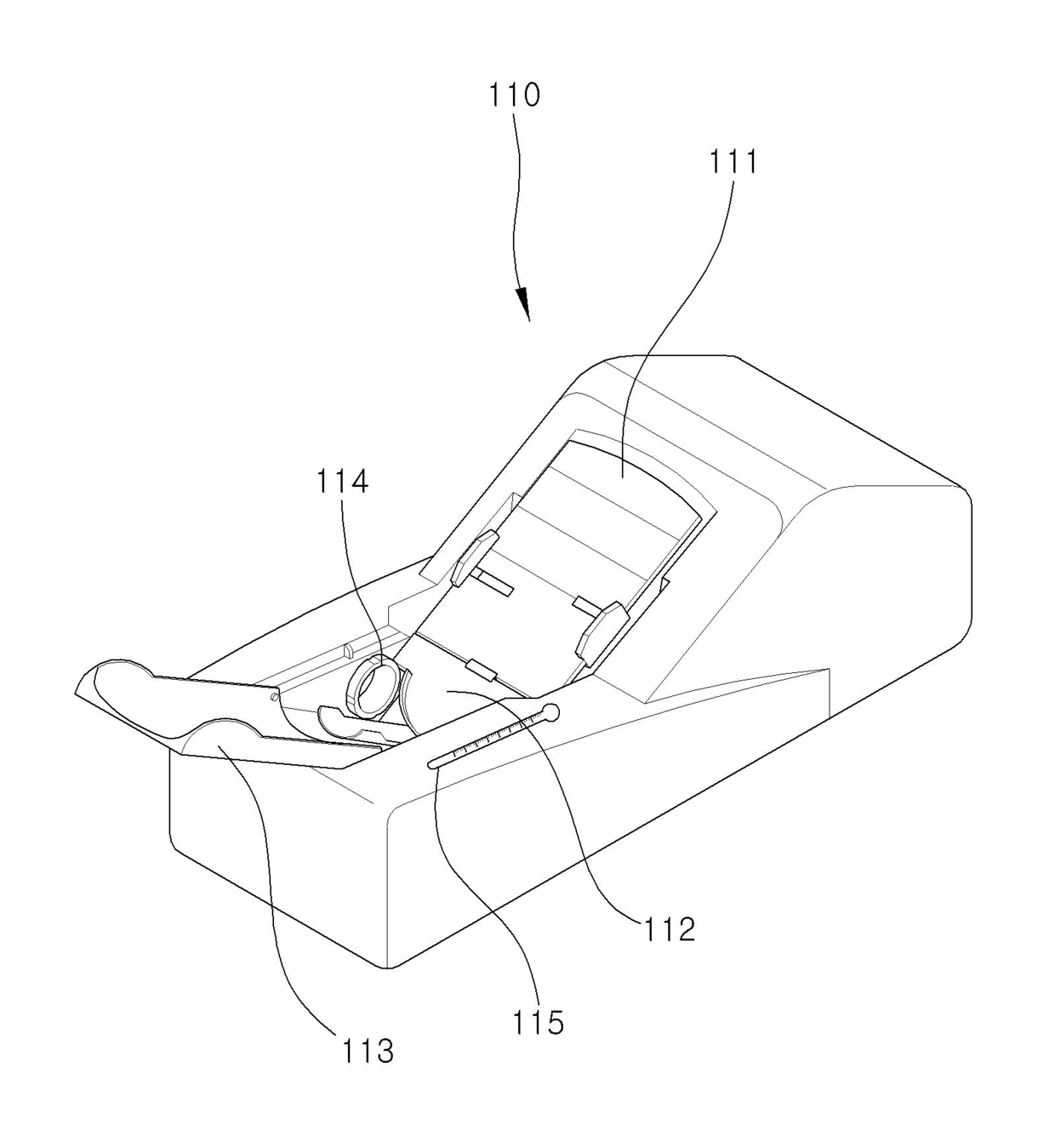
标题:
발명의 명칭 온도보상을 이용한 골밀도 측정장치
授权日:
2012-08-01
公开(公告)号:
KR101171852B1
申请日:
2012-01-04
公开(公告)日:
2012-08-09
当前申请(专利权)人:
주식회사 오스테오시스
发明人:
안영복 | 윤귀영 | 김재진
简单同族:
KR101171852B1
简单同族成员数量:
1
简单同族被引用专利总数:
0
诉讼案件数:
0
法律状态/事件:
未缴年费