首页
专利数据库
产业人才
行业动态
产业政策法规
维权援助
个人中心
登录/注册
详情
文本
图像
标题:
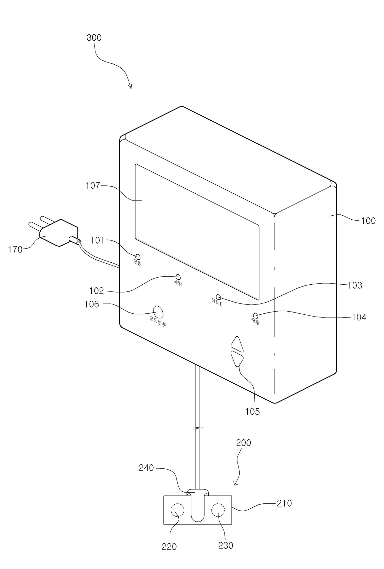
방광용적 측정장치
授权日:
2011-10-04
公开(公告)号:
KR101071994B1
申请日:
2009-04-22
公开(公告)日:
2011-10-12
当前申请(专利权)人:
대전보건대학 산학협력단
发明人:
박지환 | 송지숙 | 이기정 | 안효성 | 신다흰
简单同族:
KR101071994B1 | KR1020100116262A
简单同族成员数量:
2
简单同族被引用专利总数:
0
诉讼案件数:
0
法律状态/事件:
未缴年费