首页
专利数据库
产业人才
行业动态
产业政策法规
维权援助
个人中心
登录/注册
详情
文本
图像
标题:
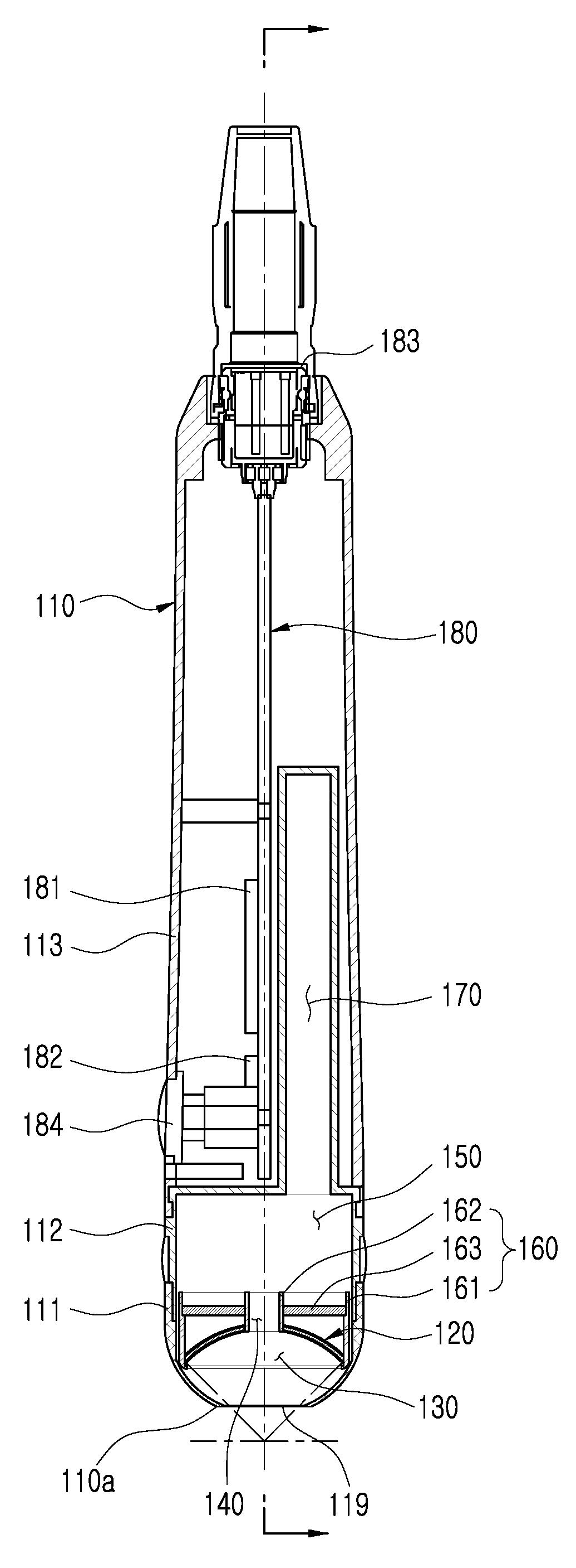
발명의 명칭 초음파 변환기
授权日:
2016-08-31
公开(公告)号:
KR101654888B1
申请日:
2014-11-04
公开(公告)日:
2016-09-06
当前申请(专利权)人:
주식회사 코러스트
发明人:
조성찬
简单同族:
KR101654888B1 | KR1020160052257A
简单同族成员数量:
2
简单同族被引用专利总数:
0
诉讼案件数:
0
法律状态/事件:
授权