首页
专利数据库
产业人才
行业动态
产业政策法规
维权援助
个人中心
登录/注册
详情
文本
图像
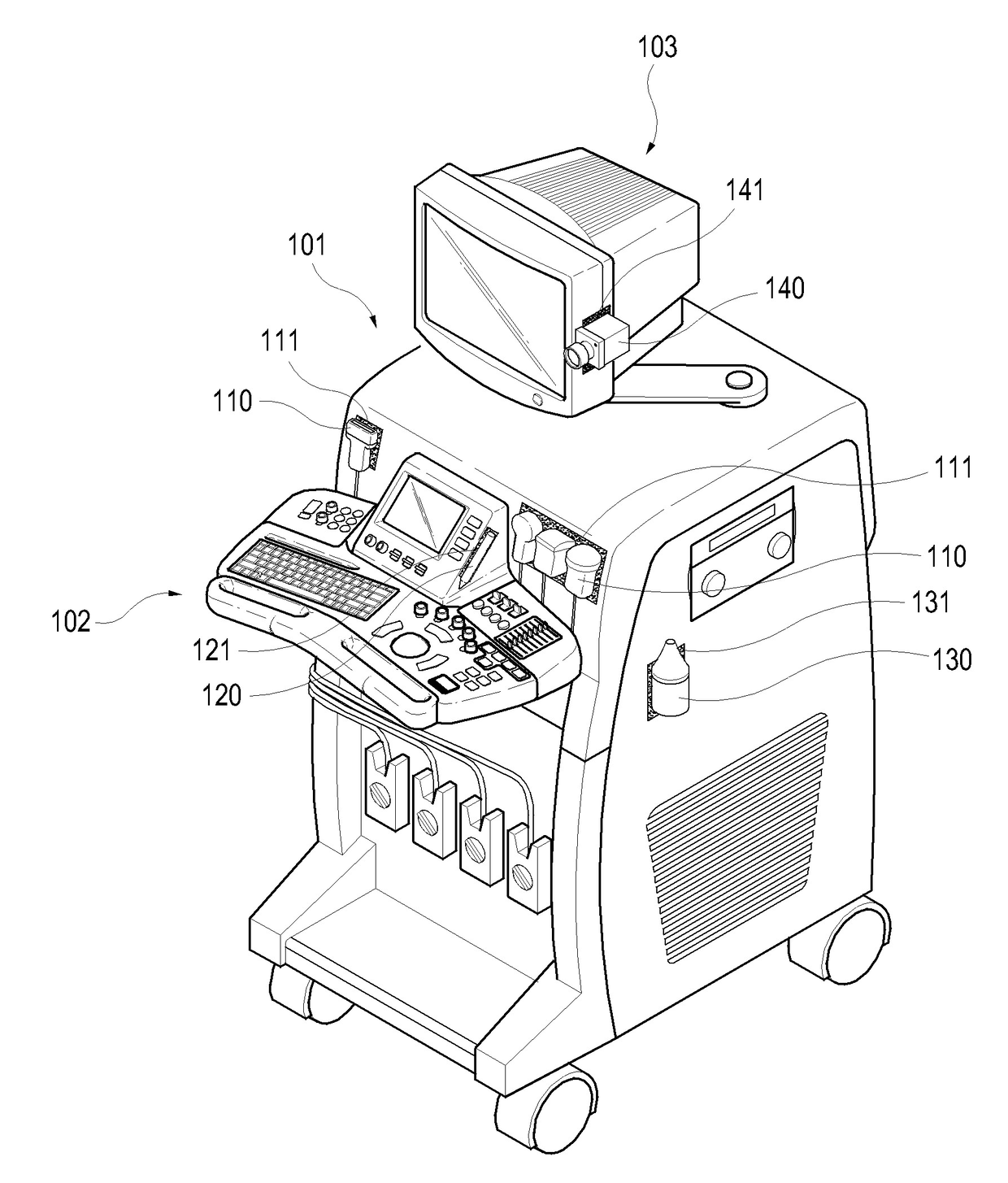
标题:
초음파 진단장치
授权日:
1900-01-01
公开(公告)号:
KR1020080105570A
申请日:
2007-05-31
公开(公告)日:
2008-12-04
当前申请(专利权)人:
삼성메디슨 주식회사
发明人:
송영석 | 이진용 | 신수환
简单同族:
KR1020080105570A
简单同族成员数量:
1
简单同族被引用专利总数:
0
诉讼案件数:
0
法律状态/事件:
驳回