首页
专利数据库
产业人才
行业动态
产业政策法规
维权援助
个人中心
登录/注册
详情
文本
图像
标题:
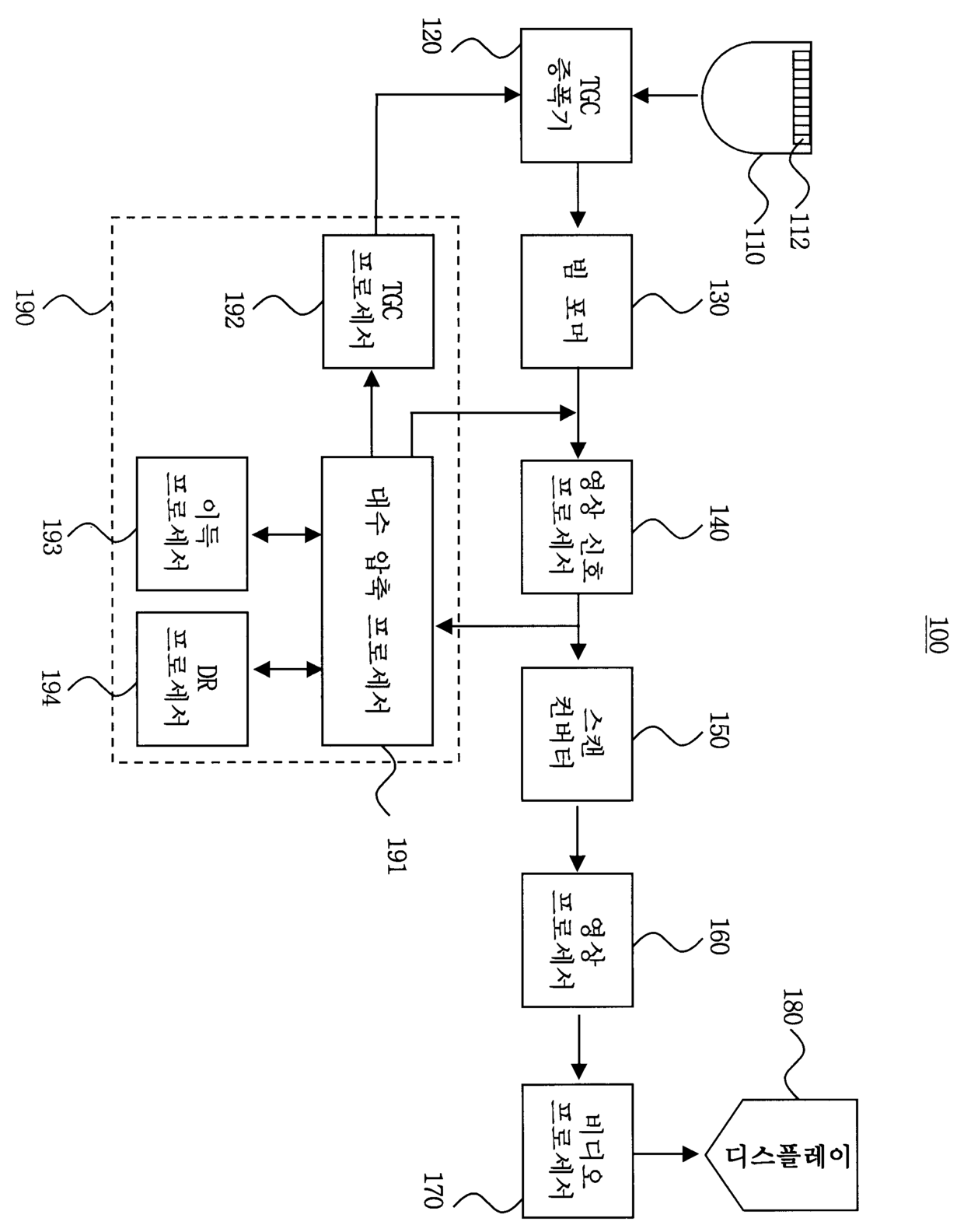
영상의 화질을 개선시키는 영상 처리 시스템 및 방법
授权日:
2007-08-07
公开(公告)号:
KR100748858B1
申请日:
2005-11-24
公开(公告)日:
2007-08-13
当前申请(专利权)人:
삼성메디슨 주식회사 | 한국과학기술원
发明人:
안치영 | 나종범 | 김용선 | 이덕운
简单同族:
DE602006002706D1 | EP1793343A1 | EP1793343B1 | JP2007144181A | JP4891038B2 | KR100748858B1 | KR1020070054820A | US20070165925A1 | US7833159
简单同族成员数量:
9
简单同族被引用专利总数:
35
诉讼案件数:
0
法律状态/事件:
授权