首页
专利数据库
产业人才
行业动态
产业政策法规
维权援助
个人中心
登录/注册
详情
文本
图像
标题:
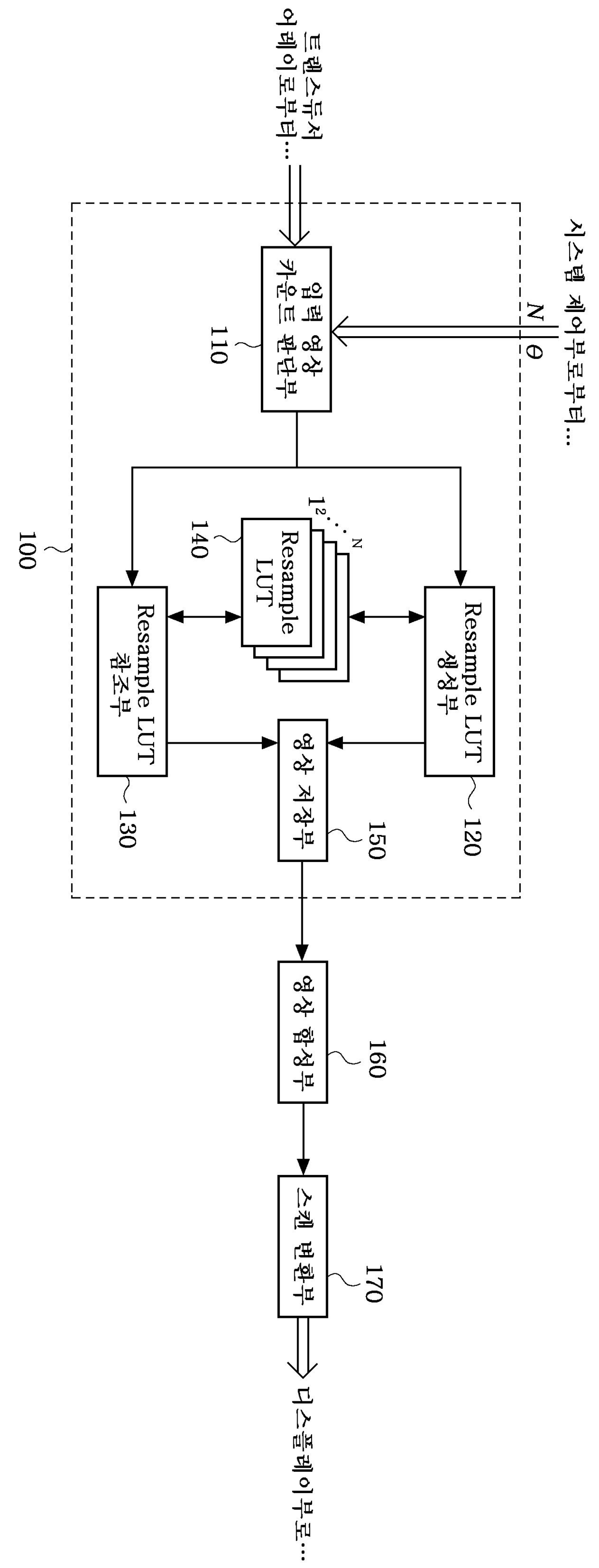
발명의 명칭 공간합성에서 최적화된 리샘플러가 적용된 초음파영상진단장치 및 초음파영상의 최적화된 리
授权日:
2012-02-20
公开(公告)号:
KR101120776B1
申请日:
2005-08-26
公开(公告)日:
2012-03-30
当前申请(专利权)人:
삼성메디슨 주식회사
发明人:
이재근 | 김형진 | 이태호
简单同族:
KR101120776B1 | KR1020070024083A
简单同族成员数量:
2
简单同族被引用专利总数:
0
诉讼案件数:
0
法律状态/事件:
授权