首页
专利数据库
产业人才
行业动态
产业政策法规
维权援助
个人中心
登录/注册
详情
文本
图像
标题:
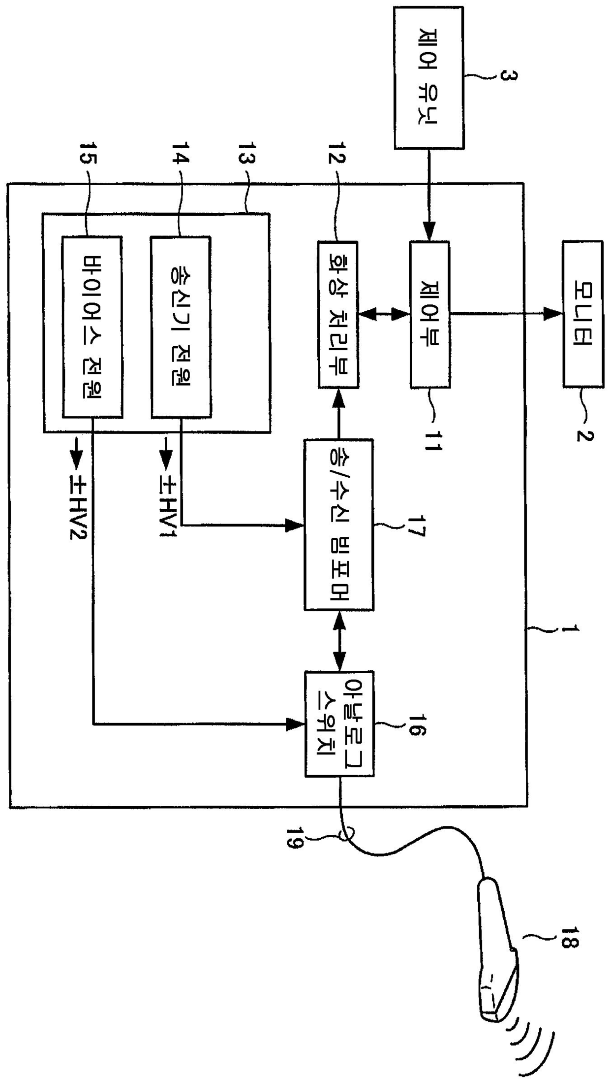
발명의 명칭 초음파 진단 장치
授权日:
2012-03-22
公开(公告)号:
KR101131677B1
申请日:
2004-02-05
公开(公告)日:
2012-03-29
当前申请(专利权)人:
지이 메디컬 시스템즈 글로발 테크놀러지 캄파니 엘엘씨
发明人:
AMEMIYA,SHINICHI
简单同族:
CN1298288C | CN1518958A | DE602004016067D1 | EP1445624A2 | EP1445624A3 | EP1445624B1 | JP2004236869A | JP3964334B2 | KR101131677B1 | KR1020040071632A | US20040158148A1 | US7351204
简单同族成员数量:
12
简单同族被引用专利总数:
45
诉讼案件数:
0
法律状态/事件:
未缴年费